Запчасти Shantui SD32-320 фильтр тонкой очистки топлива преобразователь крутящего момента и трансмиссия

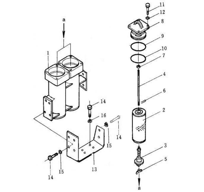
Схема запчастей Shantui SD32-320 - фильтр тонкой очистки топлива преобразователь крутящего момента и трансмиссия
2
3
4
5
6
7
8
9
10
11
12
13
14
15
16
17
FIT
1:1
100%

Артикул

Название

Примечание

Количество

1

171-74-01000

фильтр тонкой очистки топлива

2

171-74-01100

корпус

3

175-49-11580

сетчатый фильтр

4

175-49-25530

клапан

5

175-49-25540

рычаг

6

01540-21050

гайка барашковая

7

04050-02018

шплинт

8

01582-01008

Гайка М10 * 1,25

9

195-49-13740

крышка

10

07000-12115

O-образное кольцо

11

07000-12110

O-образное кольцо

12

01010-51440

Болт М14 * 40

13

01643-31445

Шайба 14

14

171-74-02000

опора

15

01010-51235

Болт М12 * 35

16

01602-21236

Шайба 12

17

01643-31232

Шайба 12

Выбрано товаров: 17