Запчасти Shantui SD32-320 насос гидроусилителя рулевого управления система рулевого управления и конечная передача

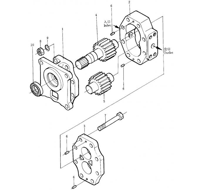
Схема запчастей Shantui SD32-320 - насос гидроусилителя рулевого управления система рулевого управления и конечная передача
2
4
5
6
7
8
9
10
11
FIT
1:1
100%

Артикул

Название

Примечание

Количество

1

07440-72202

насос гидроусилителя рулевого управления

2

07438-72111

кронштейн

3

07440-71221

корпус насоса

4

07433-71131

крышка насоса

5

07440-71042

ведущая шестерня

6

07440-71052

ведомая шестерня

7

04020-00820

цилиндрический штифт

8

01051-51420

Болт М14 * 1,5 * 120

9

01582-11411

Гайка М14 * 1,5

10

01602-21442

Шайба 14

11

07438-71160

сальник

Выбрано товаров: 0