Запчасти Shantui SD32-320 педаль тормоза система рулевого управления и конечная передача

Схема запчастей Shantui SD32-320 - педаль тормоза система рулевого управления и конечная передача
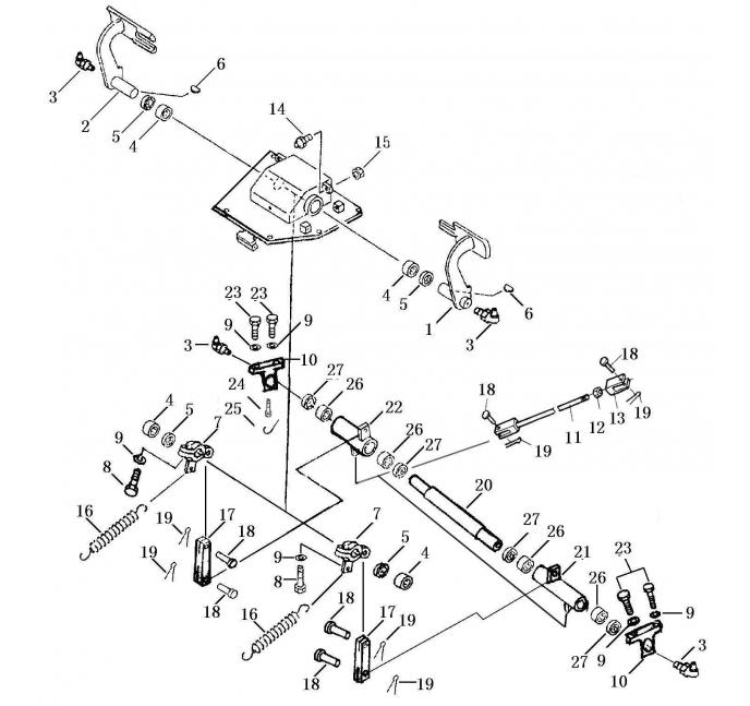
1
2
3
4
5
6
7
8
9
10
11
12
13
14
15
16
17
18
19
20
21
22
23
24
25
26
27
FIT
1:1
100%

Артикул

Название

Примечание

Количество

1

16Y-26C-01000

Педаль (LH) ()

2

16Y-26C-02000

Педаль (RH) ()

3

07021-01090

лубрикатор 90 ° M10 * 1

4

GB290-HK3520

игольчатый роликоподшипник со штампованным наружным кольцом

5

06122-03504

пылезащитное уплотнение

6

04010-11032

сегментная шпонка

7

10Y-26-13000

основание пружины

8

01010-51235

Болт М12 * 35

9

01643-31232

Шайба 12

10

10Y-26-00003

крепление

11

04244-41413

рычаг в сборе

12

01580-01411

гайка M14

13

04210-21456

вильчатая пластина

14

09311-41237

болт

15

01580-11210

гайка М12

16

154-43-41260

пружина

17

10Y-26-00004

соединение

18

04205-11440

цилиндрический штифт

19

04050-14022

шплинт

20

171-26-00002

вал

21

171-26-01000

опора

22

171-26-02000

опора

23

01010-51225

Болт М12 * 25

24

04059-01010

стальной провод

25

01306-10616

Болт М6 * 16

26

GB290-HK3020

игольчатый роликоподшипник со штампованным наружным кольцом

27

06122-03004

пылезащитное уплотнение

Выбрано товаров: 0