Запчасти Shantui SD32-320 трубопровод система рулевого управления и конечная передача

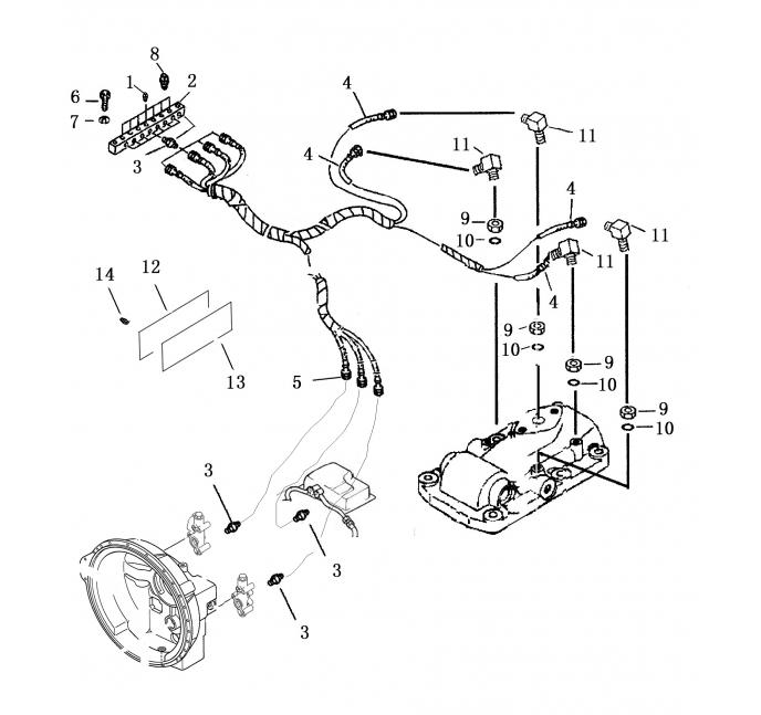
Схема запчастей Shantui SD32-320 - трубопровод система рулевого управления и конечная передача
1
2
3
4
5
6
7
8
9
10
11
12
13
14
FIT
1:1
100%

Артикул

Название

Примечание

Количество

1

07042-20108

резьбовая заглушка R1 / 8

2

16Y-76B-00001

место измерения давления

3

17Y-74B-00001

штуцер

4

17Y-74B-02000

шланг

5

17Y-74B-01000

шланг

6

01010-51245

Болт М12 * 45

7

01643-31232

Шайба 12

8

171-75-00001

наконечник

9

01580-10806

гайка M8

10

07002-10823

O-образное кольцо

11

17Y-74B-00002

штуцер

12

10Y-76B-00002

пластина

13

16Y-76B-00002

пластина

14

04418-02550

заклепка

Выбрано товаров: 14