Запчасти Volvo ABG2820 55047 Motor Cooler ABG2820 S/N 20814 -

Схема запчастей Volvo ABG2820 - 55047 Motor Cooler ABG2820 S/N 20814 -
FIT
1:1
100%

Артикул

Название

Примечание

Количество

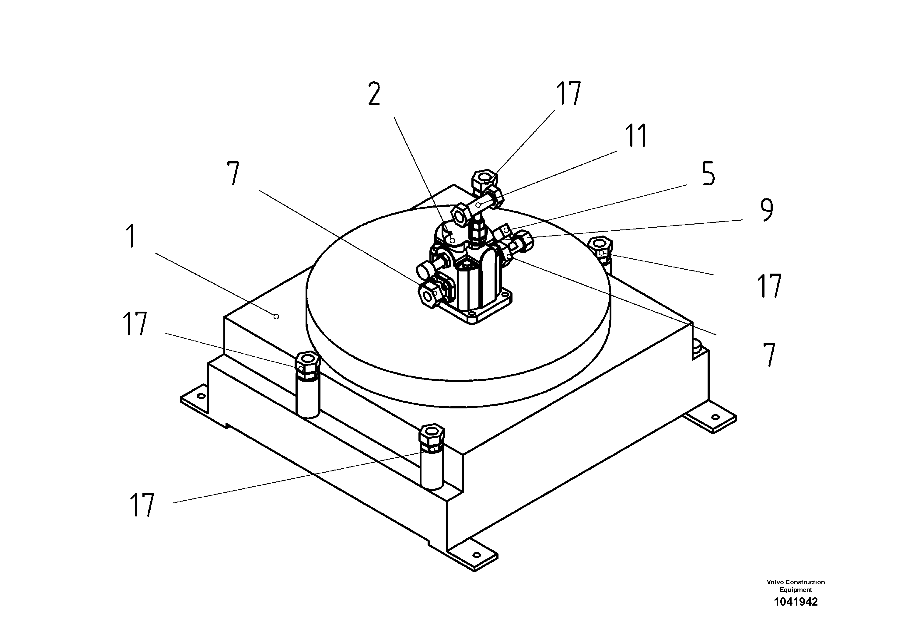
1

RM 54699285

Радиатор масляной для гидравлики

1шт.

11

RM 87987798

Фиттинг

1шт.

17

RM 13943774

Шпилька

1шт.

17

RM 13943774

Шпилька

1шт.

2

RM 54718119

Гидромотор

1шт.

2

RM 54718119

Гидромотор

1шт.

5

RM 14090419

Фиттинг

S/N 14918-

1шт.

5

RM 14090419

Фиттинг

S/N 14918-

1шт.

7

RM 13908959

Coupling Piece

1шт.

7

RM 13908959

Coupling Piece

1шт.

9

RM 87987780

Фиттинг

1шт.

Выбрано товаров: 11