Запчасти Volvo ABG2820 56923 Alternator-mounting ABG2820 S/N 20814 -

Схема запчастей Volvo ABG2820 - 56923 Alternator-mounting ABG2820 S/N 20814 -
FIT
1:1
100%

Артикул

Название

Примечание

Количество

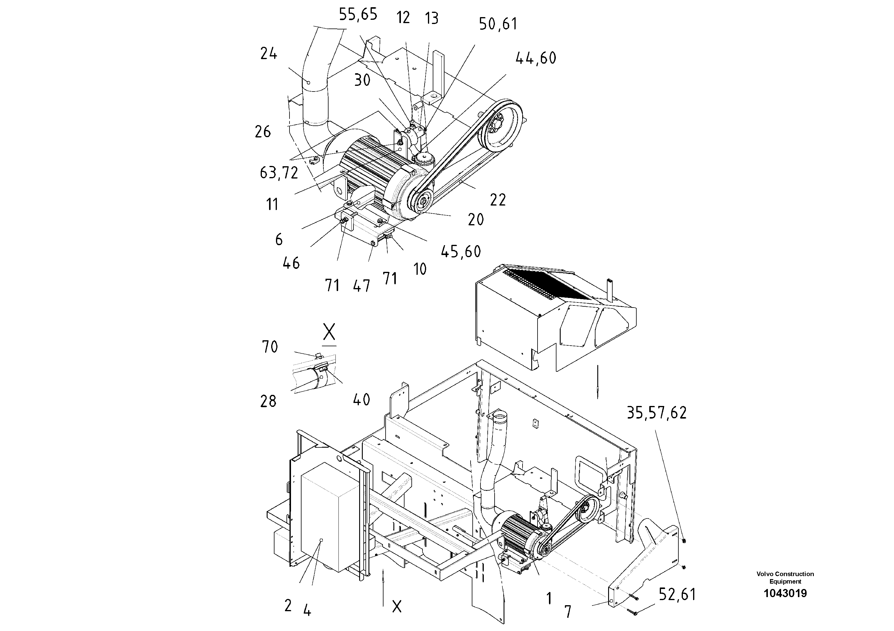
1

RM 54699384

Alternator

1шт.

10

RM 87938189

Кронштейн

1шт.

11

RM 80607427

Опора

1шт.

12

RM 80607351

Кронштейн

1шт.

13

RM 80607344

Болт

1шт.

2

RM 80639438

Switch box

S/N 17783-

1шт.

20

RM 54720487

Шкив

WITH TAPERBUSH

1шт.

22

RM 80628381

Ремень клиновой (приводной)

S/N 14254-

1шт.

24

RM 87988226

Шланг

1шт.

26

RM 13929013

Hose Clamp

1шт.

26

RM 13929013

Hose Clamp

1шт.

28

RM 14262059

Зажим

1шт.

28

RM 14262059

Зажим

1шт.

30

RM 13942933

Buffer

1шт.

35

RM 96718820

Винт шестигранник

1шт.

35

RM 96718820

Винт шестигранник

1шт.

4

RM 80470495

Control Unit

S/N 17783-

1шт.

40

RM 96713185

Винт шестигранник

1шт.

40

RM 96713185

Винт шестигранник

1шт.

44

RM 96718838

Винт шестигранник

1шт.

44

RM 96718838

Винт шестигранник

1шт.

45

RM 96713334

Винт шестигранник

1шт.

45

RM 96713334

Винт шестигранник

1шт.

46

RM 96713383

Винт шестигранник

1шт.

47

RM 96713409

Винт шестигранник

1шт.

47

RM 96713409

Винт шестигранник

1шт.

50

RM 96718861

Винт шестигранник

1шт.

50

RM 96718861

Винт шестигранник

1шт.

52

RM 96718770

Винт шестигранник

S/N 14753-

1шт.

52

RM 96718770

Винт шестигранник

S/N 14753-

1шт.

55

RM 96722046

Винт шестигранник

1шт.

57

RM 58854316

Стопорная шайба (кольцо)

1шт.

57

RM 58854316

Стопорная шайба (кольцо)

1шт.

6

RM 87938031

Tensioner

1шт.

60

RM 13907761

Стопорная шайба (кольцо)

1шт.

60

RM 13907761

Стопорная шайба (кольцо)

1шт.

61

RM 14261002

Стопорная шайба (кольцо)

1шт.

61

RM 14261002

Стопорная шайба (кольцо)

1шт.

62

RM 58867052

Шайба

1шт.

62

RM 58867052

Шайба

1шт.

63

RM 96720131

Плоская шайба

1шт.

63

RM 96720131

Плоская шайба

1шт.

65

RM 14261010

Стопорная шайба (кольцо)

1шт.

65

RM 14261010

Стопорная шайба (кольцо)

1шт.

7

RM 80672546

Bonnet

S/N 14753-

1шт.

70

RM 14083455

Hexagon Nut

1шт.

70

RM 14083455

Hexagon Nut

1шт.

71

RM 96712807

Hexagon Nut

1шт.

71

RM 96712807

Hexagon Nut

1шт.

72

RM 96724182

Hexagon Nut

1шт.

72

RM 96724182

Hexagon Nut

1шт.

Выбрано товаров: 51