Запчасти Volvo ABG325 S/N 20941 - 52724 Electric Kit - Tensioning Device

Схема запчастей Volvo ABG325 S/N 20941 - - 52724 Electric Kit - Tensioning Device
FIT
1:1
100%

Артикул

Название

Примечание

Количество

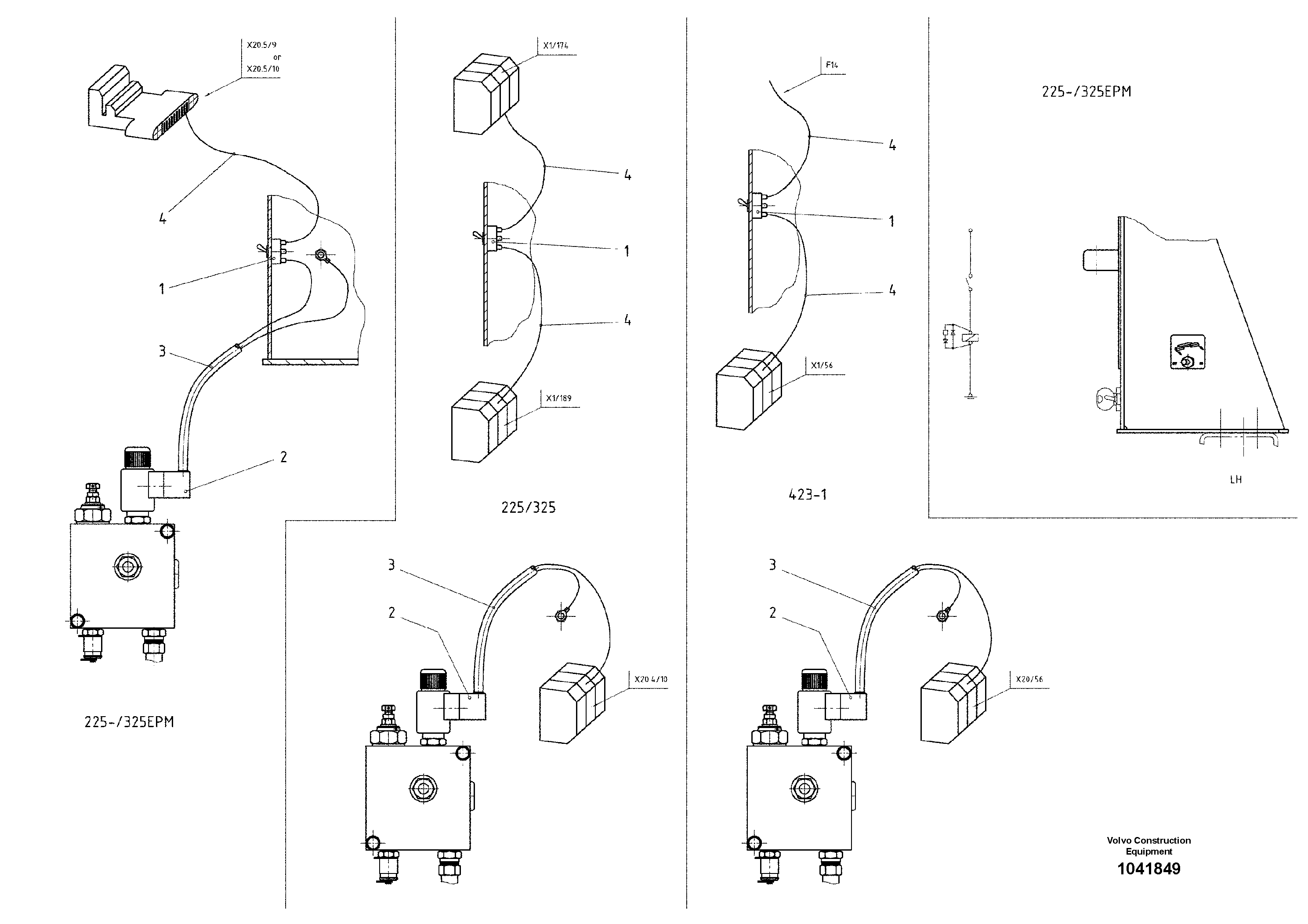
1

RM 58854456

Переключатель

1шт.

1

RM 58854456

Переключатель

1шт.

2

RM 54454558

Пробка (заглушка)

S/N 10688-

1шт.

2

RM 54454558

Пробка (заглушка)

S/N 10688-

1шт.

3

RM 87983953

Cable

S/N 13011-

1шт.

4

RM 87983961

Cable

S/N 13011-

1шт.

Выбрано товаров: 6