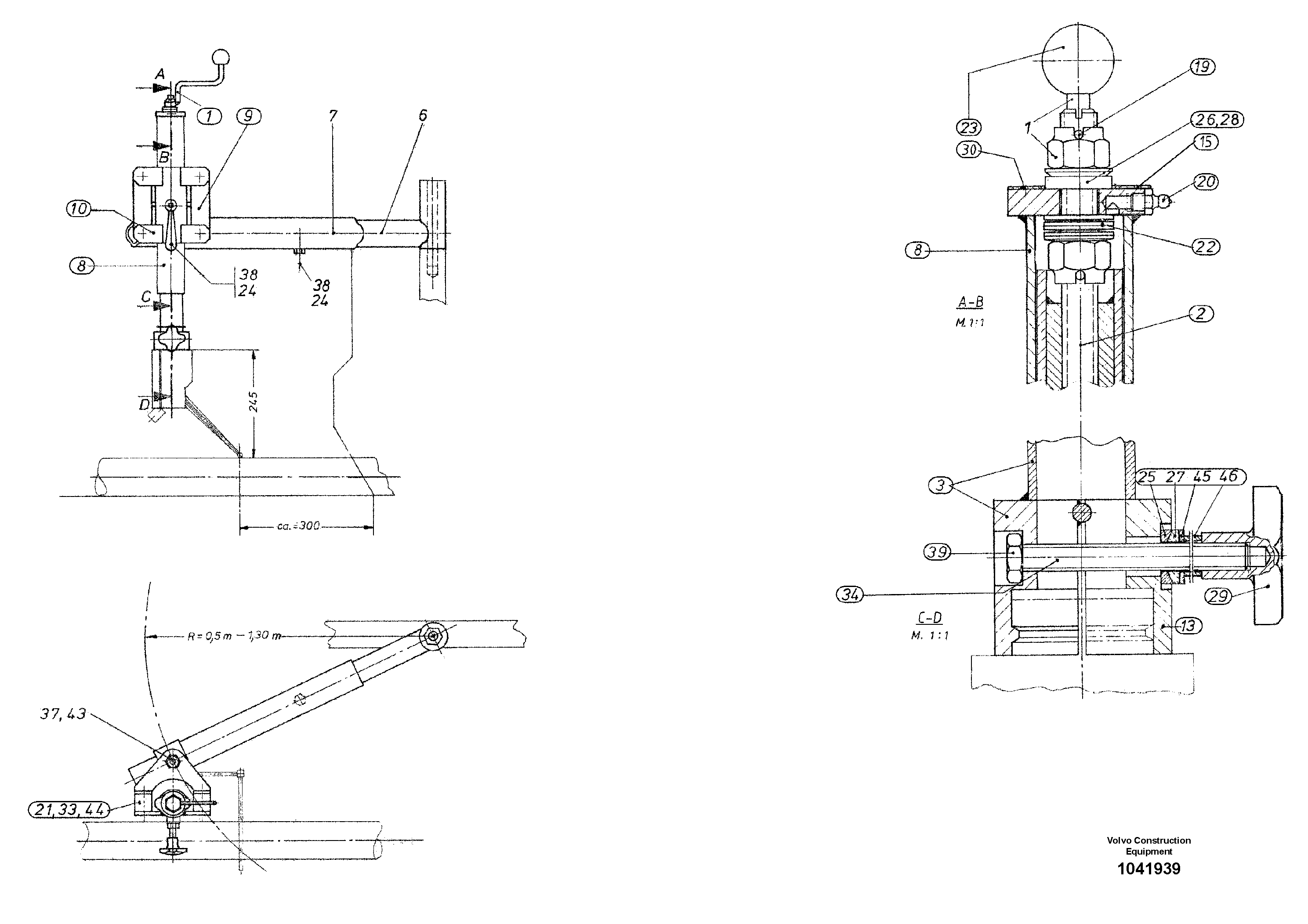
Запчасти Volvo ABG325 S/N 20941 - 54798 Outrigger For Grade Control

Схема запчастей Volvo ABG325 S/N 20941 - - 54798 Outrigger For Grade Control
FIT
1:1
100%

Артикул

Название

Примечание

Количество

24

RM 58824442

регулировочный винт

1шт.

24

RM 58824442

регулировочный винт

1шт.

37

RM 96719182

Hexagon Nut

1шт.

37

RM 96719182

Hexagon Nut

1шт.

38

RM 96719174

Hexagon Nut

1шт.

38

RM 96719174

Hexagon Nut

1шт.

4

RM 13959408

Stabilisor

1шт.

43

RM 14261028

Стопорная шайба (кольцо)

1шт.

43

RM 14261028

Стопорная шайба (кольцо)

1шт.

6

RM 58849597

Swivel Arm

1шт.

7

RM 13917190

Sliding Member

1шт.

Выбрано товаров: 11