Запчасти Volvo ABG325 S/N 20941 - 56548 Roof Support

Схема запчастей Volvo ABG325 S/N 20941 - - 56548 Roof Support
FIT
1:1
100%

Артикул

Название

Примечание

Количество

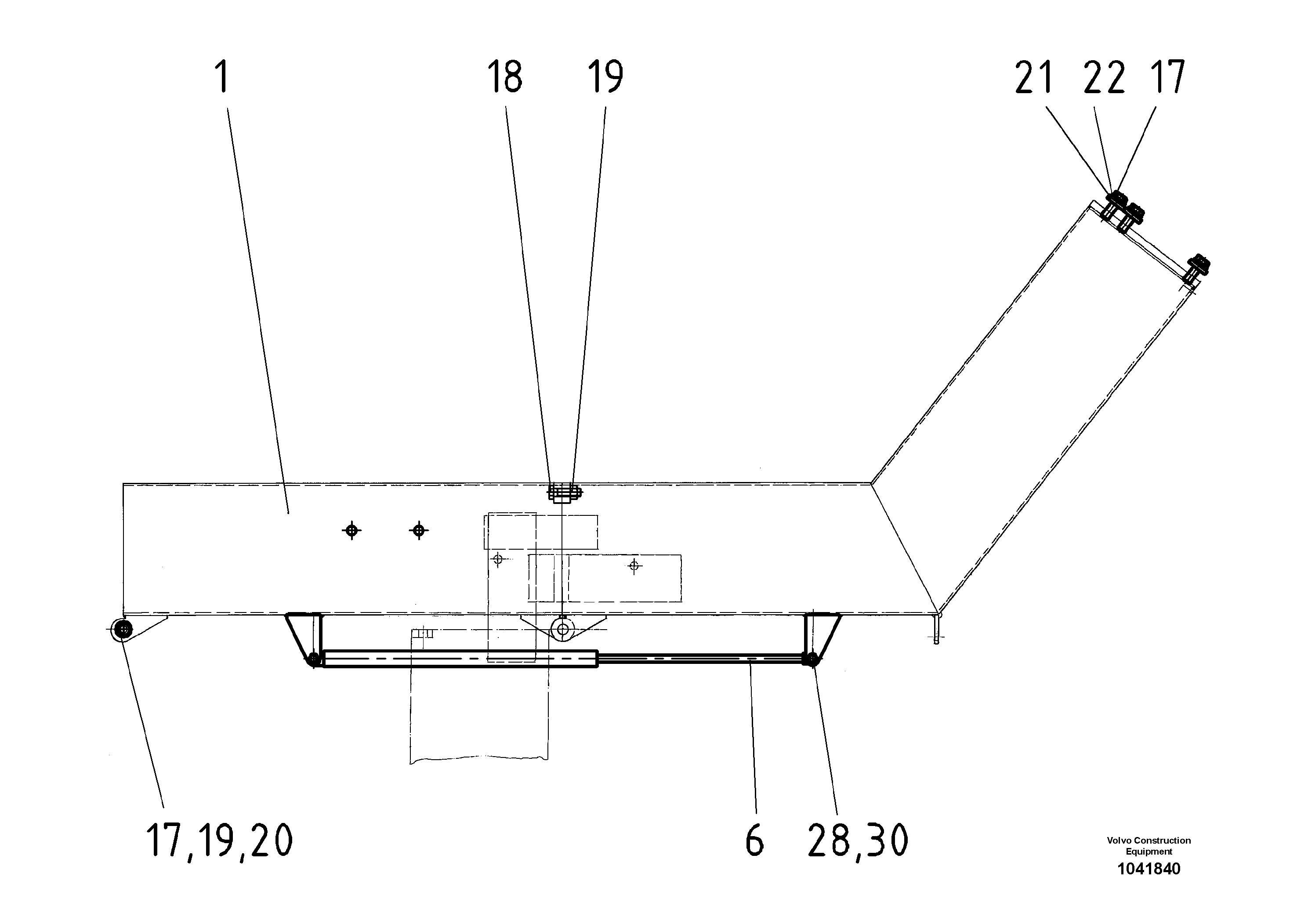
1

RM 13960745

Опора

REAR, RH

1шт.

17

RM 96719059

Винт шестигранник

1шт.

17

RM 96719059

Винт шестигранник

1шт.

18

RM 96718895

Винт шестигранник

1шт.

18

RM 96718895

Винт шестигранник

1шт.

19

RM 14083463

Гайка

1шт.

19

RM 14083463

Гайка

1шт.

20

RM 96720131

Плоская шайба

1шт.

20

RM 96720131

Плоская шайба

1шт.

21

RM 96726112

Шайба

1шт.

21

RM 96726112

Шайба

1шт.

22

RM 14261002

Стопорная шайба (кольцо)

1шт.

22

RM 14261002

Стопорная шайба (кольцо)

1шт.

28

RM 96713219

Винт шестигранник

1шт.

28

RM 96713219

Винт шестигранник

1шт.

30

RM 14083455

Hexagon Nut

1шт.

30

RM 14083455

Hexagon Nut

1шт.

6

RM 58834359

Gas Spring

1шт.

6

RM 58834359

Gas Spring

1шт.

Выбрано товаров: 19