Запчасти Volvo ABG325 S/N 20941 - 65326 Travel Carrier

Схема запчастей Volvo ABG325 S/N 20941 - - 65326 Travel Carrier
FIT
1:1
100%

Артикул

Название

Примечание

Количество

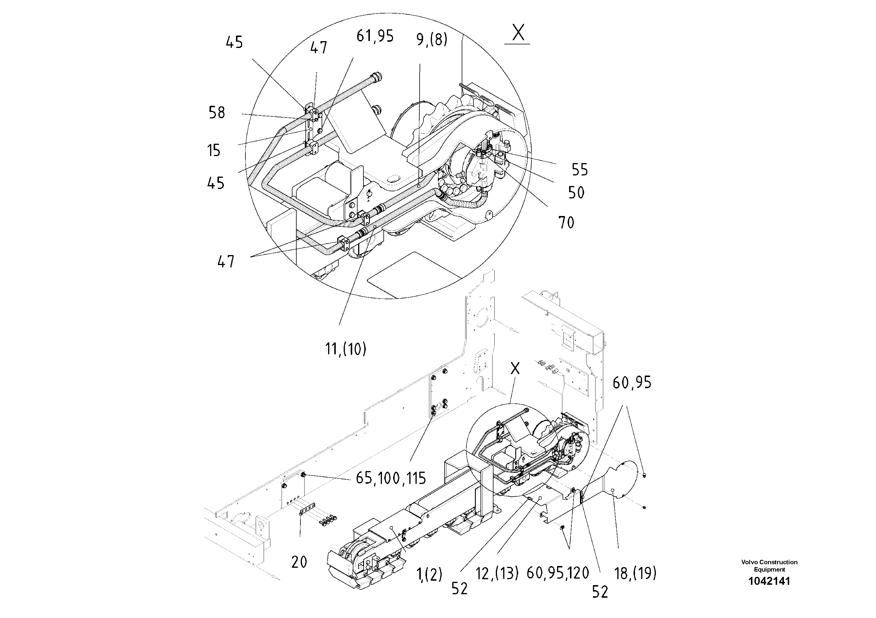
1

RM 80639347

Frame part

LH

1шт.

10

RM 80671654

Трубка

1шт.

100

RM 14261036

Стопорная шайба (кольцо)

1шт.

100

RM 14261036

Стопорная шайба (кольцо)

1шт.

11

RM 80671662

Трубка

1шт.

115

RM 96726153

Плоская шайба

1шт.

115

RM 96726153

Плоская шайба

1шт.

12

RM 80639230

Protecting plate

LH

1шт.

120

RM 14084016

Шайба

1шт.

120

RM 14084016

Шайба

1шт.

13

RM 80639248

Protecting plate

RH

1шт.

15

RM 80670870

Пластина

1шт.

18

RM 80637895

Крышка

LH

1шт.

19

RM 80671944

Крышка

RH

1шт.

2

RM 80639354

Drive unit

L. R

1шт.

20

RM 14240097

Strip

1шт.

45

RM 13909858

Base plate

1шт.

45

RM 13909858

Base plate

1шт.

47

RM 13911433

Зажим

1шт.

47

RM 13911433

Зажим

1шт.

50

RM 13926498

Фланец

1шт.

50

RM 13926498

Фланец

1шт.

52

RM 14329155

Rubber plate

S/N 15145-

1шт.

55

RM 58833013

Кольцо уплотнительное (О-кольцо)

1шт.

55

RM 58833013

Кольцо уплотнительное (О-кольцо)

1шт.

58

RM 96718721

Винт шестигранник

1шт.

58

RM 96718721

Винт шестигранник

1шт.

60

RM 96718838

Винт шестигранник

1шт.

60

RM 96718838

Винт шестигранник

1шт.

61

RM 96713318

Винт шестигранник

1шт.

61

RM 96713318

Винт шестигранник

1шт.

65

RM 96722368

Винт шестигранник

1шт.

65

RM 96722368

Винт шестигранник

1шт.

70

RM 96713854

Винт шестигранник (торцевой ключ)

1шт.

70

RM 96713854

Винт шестигранник (торцевой ключ)

1шт.

8

RM 80671555

Трубка

1шт.

9

RM 80671670

Трубка

1шт.

95

RM 13907761

Стопорная шайба (кольцо)

1шт.

95

RM 13907761

Стопорная шайба (кольцо)

1шт.

Выбрано товаров: 39