Запчасти Volvo ABG5820 55396 Screed Anti-Climbing Lock ABG5820 S/N 20975 -

Схема запчастей Volvo ABG5820 - 55396 Screed Anti-Climbing Lock ABG5820 S/N 20975 -
FIT
1:1
100%

Артикул

Название

Примечание

Количество

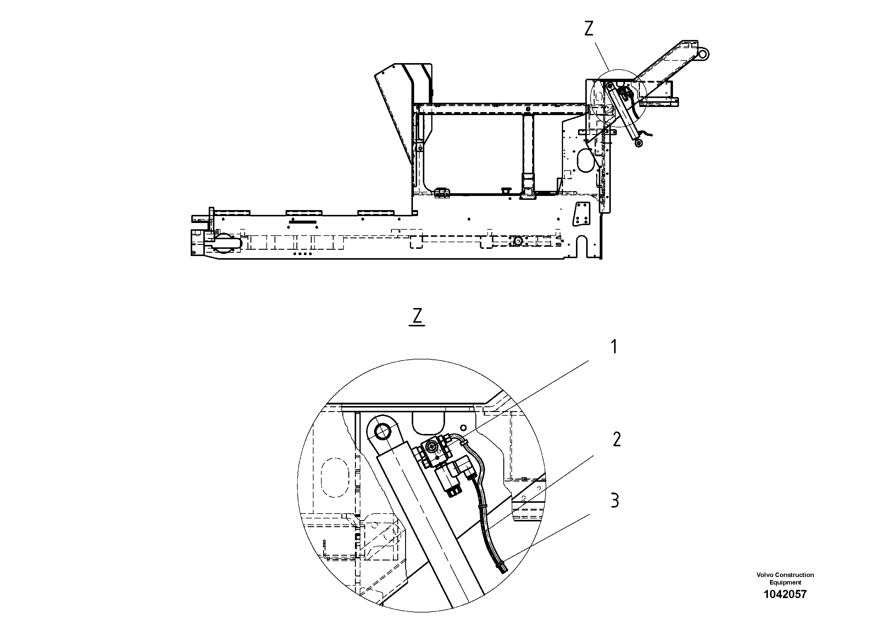
1

RM 80698863

Клапан

2/2-DIRECT, S/N 17312-

1шт.

1

RM 80698863

Клапан

2/2-DIRECT, S/N 17312-

1шт.

2

RM 80625510

Cable harness

1шт.

2

RM 80625510

Cable harness

1шт.

3

RM 13909932

Tape

1шт.

3

RM 13909932

Tape

1шт.

Выбрано товаров: 0