Запчасти Volvo ABG5820 53124 Emulsion Spraying System ABG5820 S/N 20975 -

Схема запчастей Volvo ABG5820 - 53124 Emulsion Spraying System ABG5820 S/N 20975 -
FIT
1:1
100%

Артикул

Название

Примечание

Количество

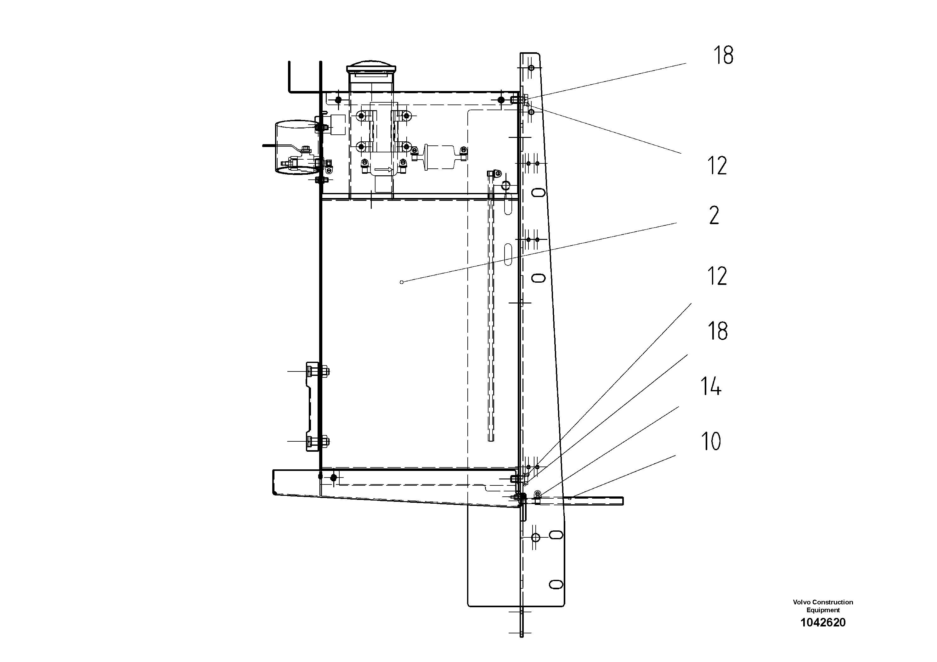
10

RM 14330997

Drain Hose

1шт.

10

RM 14330997

Drain Hose

1шт.

12

RM 96713318

Винт шестигранник

1шт.

12

RM 96713318

Винт шестигранник

1шт.

14

RM 13936992

Hose Clamp

1шт.

14

RM 13936992

Hose Clamp

1шт.

18

RM 13907761

Стопорная шайба (кольцо)

1шт.

18

RM 13907761

Стопорная шайба (кольцо)

1шт.

2

RM 80748049

Emulsion Spraying System

1шт.

Выбрано товаров: 9