Запчасти Volvo ABG6820 51050 Hydraulics ABG6820 S/N 20836 -

Схема запчастей Volvo ABG6820 - 51050 Hydraulics ABG6820 S/N 20836 -
FIT
1:1
100%

Артикул

Название

Примечание

Количество

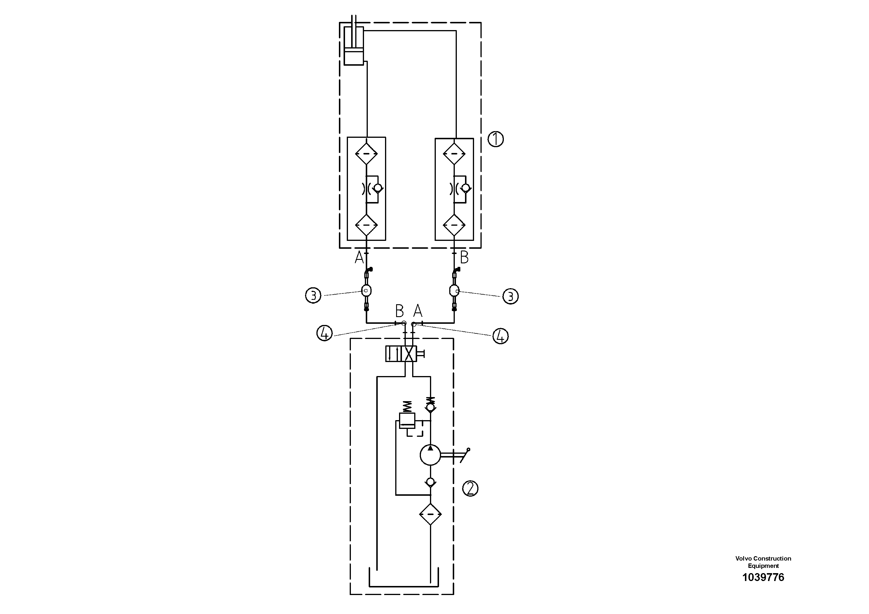
1

RM 80626369

Гидроцилиндр

1шт.

1

RM 80626369

Гидроцилиндр

1шт.

2

RM 80629553

Гидронасос (основной насос)

1шт.

2

RM 80629553

Гидронасос (основной насос)

1шт.

3

RM 80630833

Шланг

1шт.

3

RM 80630833

Шланг

1шт.

4

RM 14105183

Фиттинг

1шт.

4

RM 14105183

Фиттинг

1шт.

Выбрано товаров: 8