Запчасти Volvo ABG6820 47822 Control Station Box ABG6820 S/N 20836 -

Схема запчастей Volvo ABG6820 - 47822 Control Station Box ABG6820 S/N 20836 -
FIT
1:1
100%

Артикул

Название

Примечание

Количество

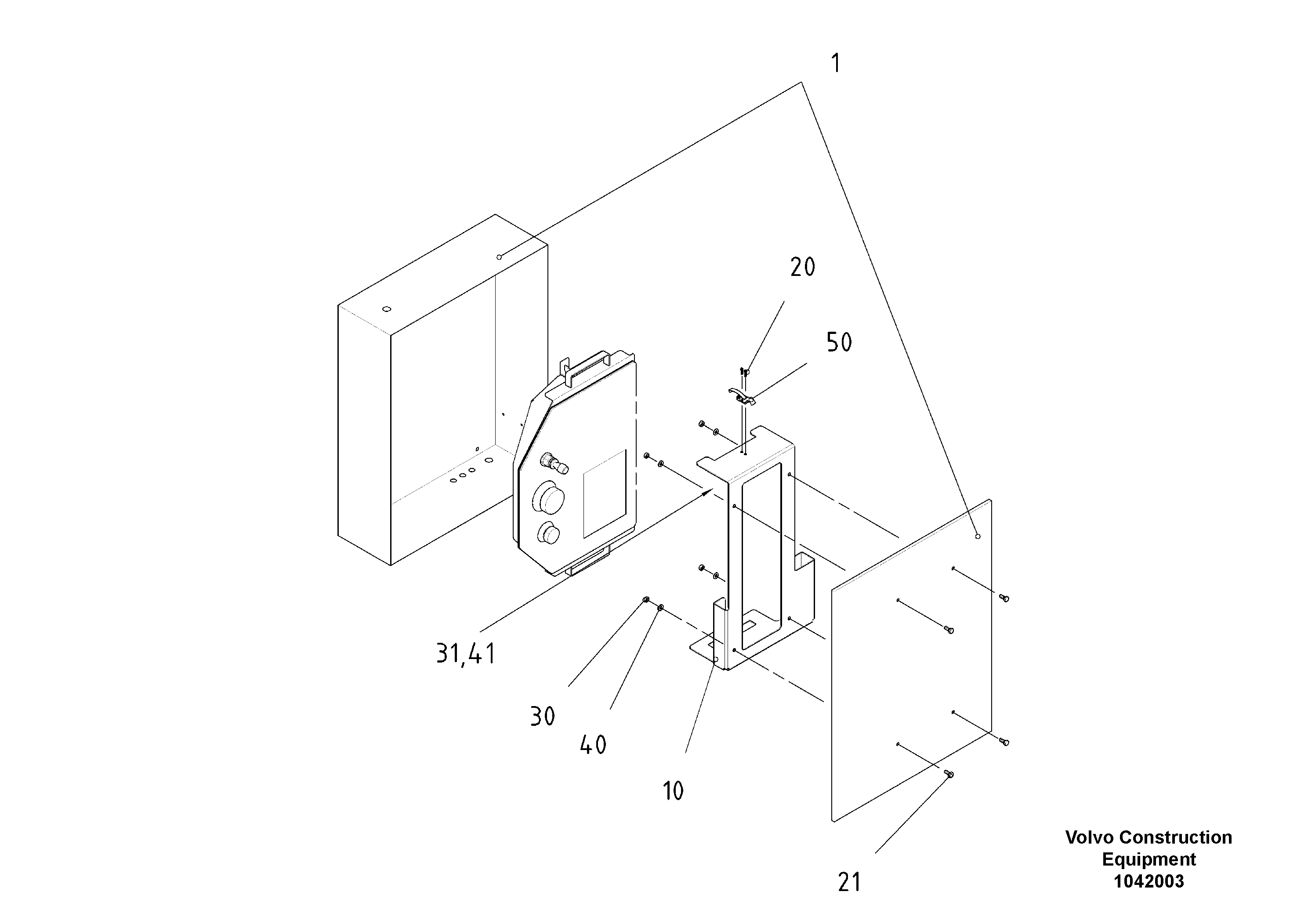
1

RM 80614126

Box

1шт.

10

RM 80737257

Holder

S/N 17859-

1шт.

20

RM 14097893

Болт

1шт.

20

RM 14097893

Болт

1шт.

21

RM 96713169

Винт шестигранник

S/N 17859-

1шт.

21

RM 96713169

Винт шестигранник

S/N 17859-

1шт.

30

RM 96712799

Hexagon Nut

1шт.

30

RM 96712799

Hexagon Nut

1шт.

31

RM 58900754

Hexagon Nut

1шт.

31

RM 58900754

Hexagon Nut

1шт.

41

RM 96712872

Плоская шайба

1шт.

41

RM 96712872

Плоская шайба

1шт.

50

RM 80614316

Toggle Fastener

1шт.

Выбрано товаров: 13