Запчасти Volvo ABG6820 55342 Screed Anti-Climbing Lock ABG6820 S/N 20836 -

Схема запчастей Volvo ABG6820 - 55342 Screed Anti-Climbing Lock ABG6820 S/N 20836 -
FIT
1:1
100%

Артикул

Название

Примечание

Количество

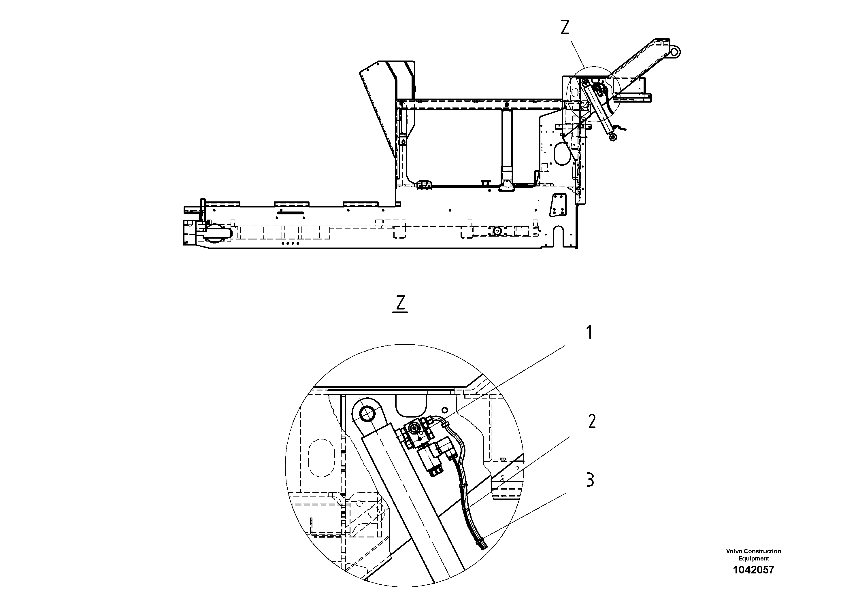
1

RM 80698863

Клапан

S/N 17312-

1шт.

1

RM 80698863

Клапан

S/N 17312-

1шт.

2

RM 80625510

Cable harness

1шт.

2

RM 80625510

Cable harness

1шт.

3

RM 13909932

Tape

1шт.

3

RM 13909932

Tape

1шт.

Выбрано товаров: 6