Запчасти Volvo ABG6820 75376 Conveyor Tensioning Unit ABG6820 S/N 20836 -

Схема запчастей Volvo ABG6820 - 75376 Conveyor Tensioning Unit ABG6820 S/N 20836 -
FIT
1:1
100%

Артикул

Название

Примечание

Количество

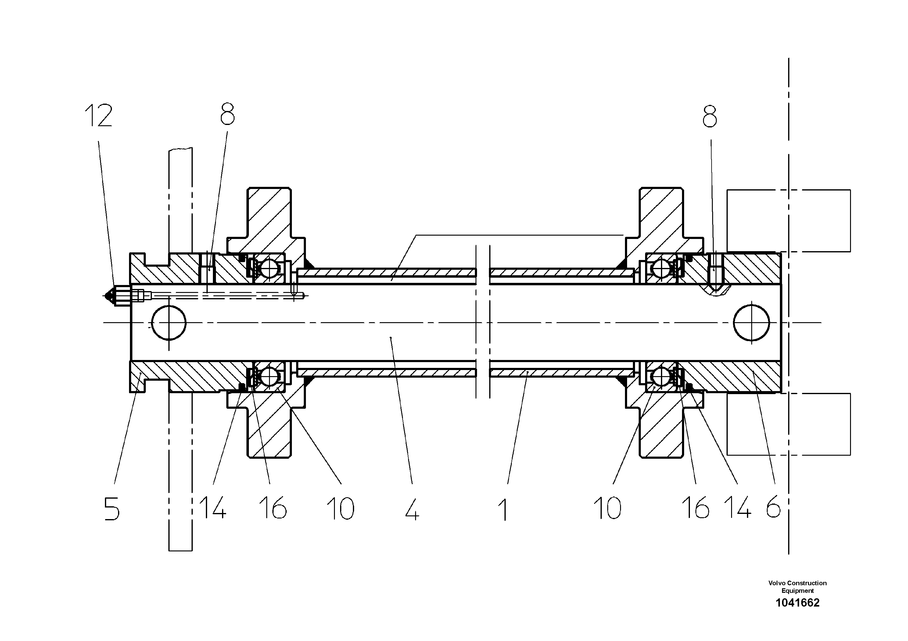
1

RM 13957642

Roller

1шт.

1

RM 13957642

Roller

1шт.

10

RM 95213724

Ball bearing

1шт.

10

RM 95213724

Ball bearing

1шт.

12

RM 14094098

Lubricating nipple

1шт.

12

RM 14094098

Lubricating nipple

1шт.

14

RM 58833641

Square washer

1шт.

14

RM 58833641

Square washer

1шт.

16

RM 58854118

Dust cover

1шт.

16

RM 58854118

Dust cover

1шт.

4

RM 13957675

Мост (ось)

1шт.

4

RM 13957675

Мост (ось)

1шт.

5

RM 13957659

Slide block

1шт.

5

RM 13957659

Slide block

1шт.

6

RM 13957667

Slide block

1шт.

6

RM 13957667

Slide block

1шт.

8

RM 96723192

Болт

S/N -20836

1шт.

8

RM 54718085

Винт шестигранник (торцевой ключ)

S/N 20837-

1шт.

8

RM 54718085

Винт шестигранник (торцевой ключ)

S/N 20837-

1шт.

Выбрано товаров: 0