Запчасти Volvo ABG7820 24879 Ultrasonic Sensor With Cable ABG7820/ABG7820B ABG7820 S/N 21064-23058 ABG7820B S/N 23059 -

Схема запчастей Volvo ABG7820 - 24879 Ultrasonic Sensor With Cable ABG7820/ABG7820B ABG7820 S/N 21064-23058 ABG7820B S/N 23059 -
FIT
1:1
100%

Артикул

Название

Примечание

Количество

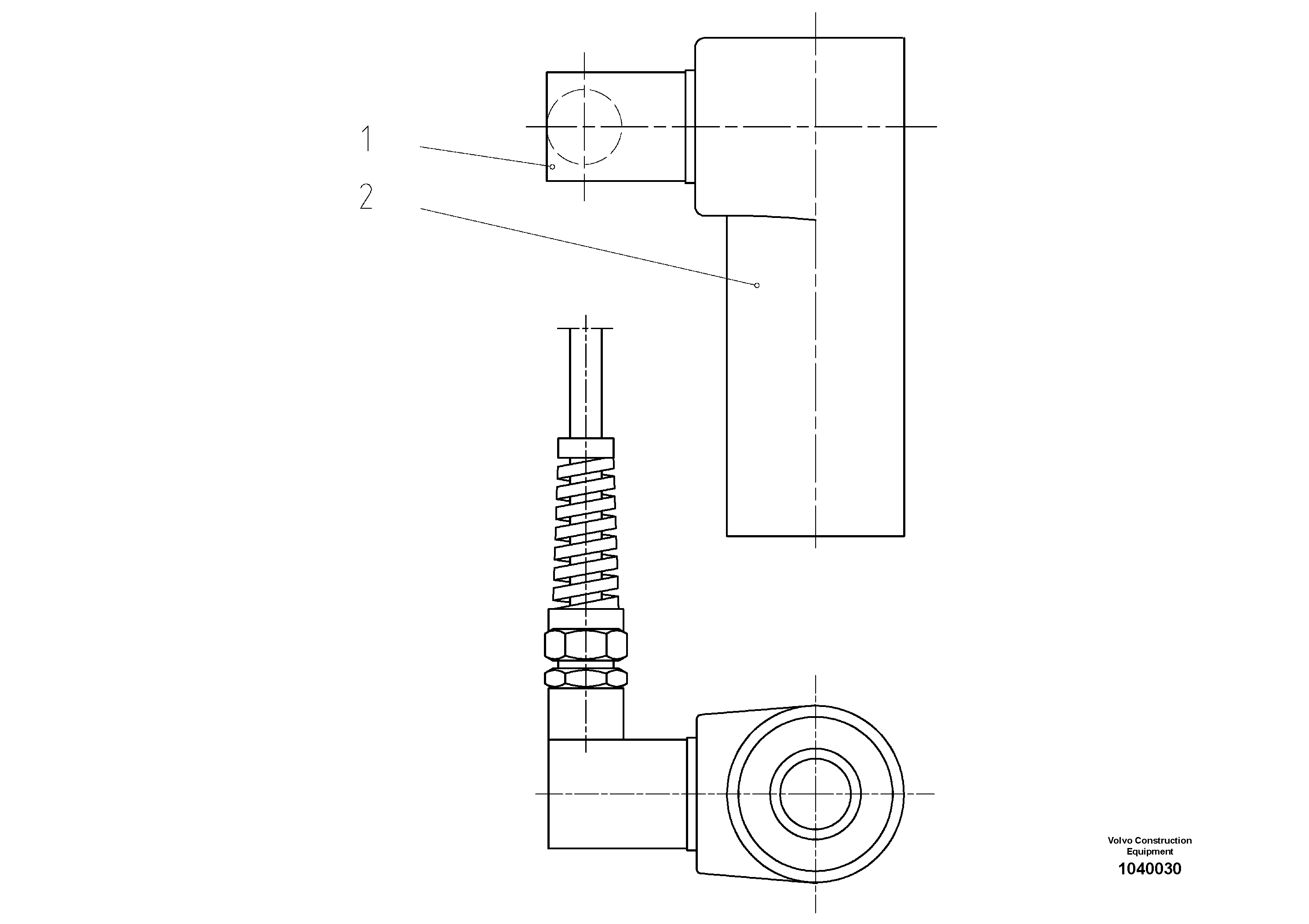
1

RM 80845191

Sensor

1шт.

1

RM 80845191

Sensor

1шт.

2

RM 80811227

Cable

1шт.

2

RM 80811227

Cable

1шт.

Выбрано товаров: 4