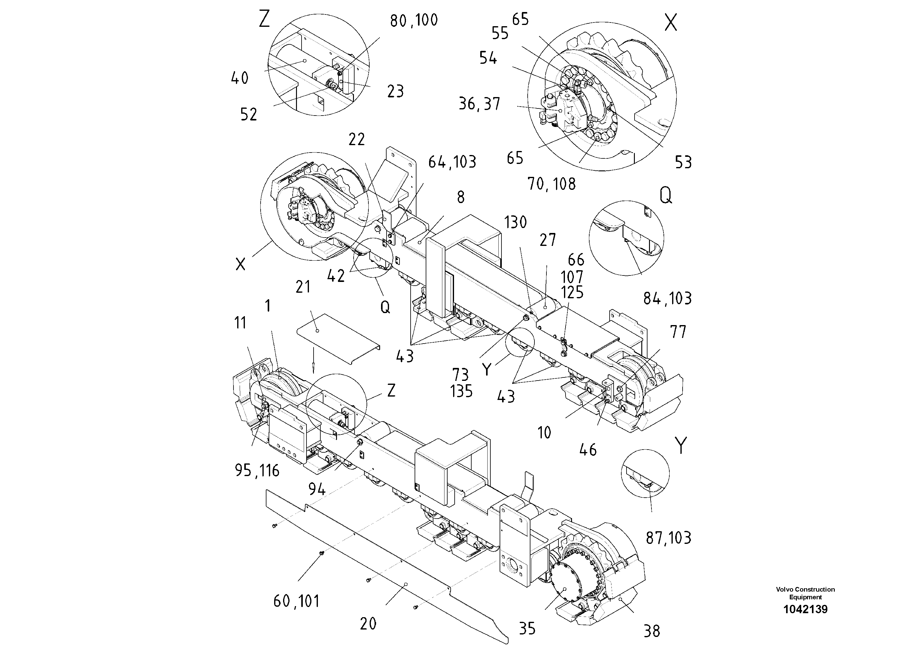
Запчасти Volvo ABG7820 30919 Crawler unit ABG7820/ABG7820B ABG7820 S/N 21064-23058 ABG7820B S/N 23059 -

Схема запчастей Volvo ABG7820 - 30919 Crawler unit ABG7820/ABG7820B ABG7820 S/N 21064-23058 ABG7820B S/N 23059 -
FIT
1:1
100%

Артикул

Название

Примечание

Количество

10

RM 14287320

Guide

LH

1шт.

100

RM 58854316

Стопорная шайба (кольцо)

1шт.

100

RM 58854316

Стопорная шайба (кольцо)

1шт.

101

RM 13907761

Стопорная шайба (кольцо)

1шт.

101

RM 13907761

Стопорная шайба (кольцо)

1шт.

103

RM 14261002

Стопорная шайба (кольцо)

1шт.

103

RM 14261002

Стопорная шайба (кольцо)

1шт.

107

RM 14261028

Стопорная шайба (кольцо)

1шт.

107

RM 14261028

Стопорная шайба (кольцо)

1шт.

108

RM 14261036

Стопорная шайба (кольцо)

1шт.

108

RM 14261036

Стопорная шайба (кольцо)

1шт.

11

RM 14287338

Slide block

RH

1шт.

116

RM 14261044

Стопорная шайба (кольцо)

1шт.

116

RM 14261044

Стопорная шайба (кольцо)

1шт.

125

RM 96726138

Шайба

1шт.

125

RM 96726138

Шайба

1шт.

130

RM 96720891

Плоская шайба

1шт.

130

RM 96720891

Плоская шайба

1шт.

135

RM 96726153

Плоская шайба

S/N 21288-

1шт.

135

RM 96726153

Плоская шайба

S/N 21288-

1шт.

20

RM 80637358

Крышка

RH

1шт.

21

RM 87905014

Крышка

1шт.

22

RM 14273452

Material scraper

1шт.

23

RM 14273387

Key

1шт.

27

RM 13959242

Roller

1шт.

35

RM 80635980

Drive gear set

1шт.

36

RM 80640238

Гидромотор

1шт.

36

RM 80640238

Гидромотор

1шт.

37

RM 13974076

Кольцо уплотнительное (О-кольцо)

1шт.

37

RM 13974076

Кольцо уплотнительное (О-кольцо)

1шт.

38

RM 14272215

Track kit

D2, W/ TRAP RUBBER SHOES

1шт.

40

RM 80616824

цилиндр

1шт.

40

RM 80616824

цилиндр

1шт.

42

RM 80746795

Track roller

S/N 20000-

1шт.

43

RM 58867839

Roller

1шт.

46

RM 14085542

Пружина

1шт.

52

RM 14102594

Coupling piece

1шт.

52

RM 14102594

Coupling piece

1шт.

53

RM 58813932

Шпилька

1шт.

53

RM 58813932

Шпилька

1шт.

54

RM 58900960

Шпилька

1шт.

54

RM 58900960

Шпилька

1шт.

55

RM 14095517

Фиттинг

1шт.

55

RM 14095517

Фиттинг

1шт.

60

RM 96718838

Винт шестигранник

1шт.

60

RM 96718838

Винт шестигранник

1шт.

64

RM 96720628

Винт шестигранник

S/N 16687-

1шт.

64

RM 96720628

Винт шестигранник

S/N 16687-

1шт.

65

RM 96722228

Винт шестигранник

1шт.

65

RM 96722228

Винт шестигранник

1шт.

66

RM 96718804

Винт шестигранник

1шт.

66

RM 96718804

Винт шестигранник

1шт.

70

RM 96703343

Винт шестигранник

1шт.

70

RM 96703343

Винт шестигранник

1шт.

73

RM 96721857

Винт шестигранник

S/N 20409-

1шт.

77

RM 96721964

Винт шестигранник

1шт.

8

RM 80634405

Frame part

RH

1шт.

80

RM 96709126

Винт шестигранник (торцевой ключ)

1шт.

84

RM 96709258

Винт шестигранник (торцевой ключ)

1шт.

87

RM 96725130

Винт шестигранник (торцевой ключ)

1шт.

87

RM 96725130

Винт шестигранник (торцевой ключ)

1шт.

94

RM 14083471

Hexagon nut

S/N 20409-

1шт.

94

RM 14083471

Hexagon nut

S/N 20409-

1шт.

95

RM 96720933

Hexagon nut

1шт.

95

RM 96720933

Hexagon nut

1шт.

Выбрано товаров: 65