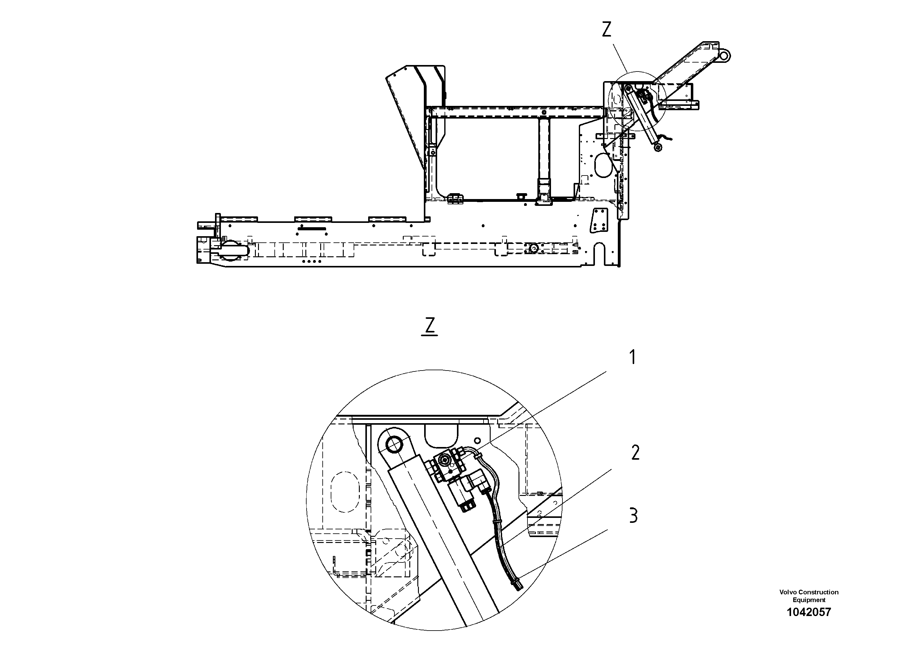
Запчасти Volvo ABG7820 43942 Screed Anti-Climbing Lock ABG7820/ABG7820B ABG7820 S/N 21064-23058 ABG7820B S/N 23059 -

Схема запчастей Volvo ABG7820 - 43942 Screed Anti-Climbing Lock ABG7820/ABG7820B ABG7820 S/N 21064-23058 ABG7820B S/N 23059 -
FIT
1:1
100%

Артикул

Название

Примечание

Количество

1

RM 80698863

Клапан

S/N 17312-

1шт.

1

RM 80698863

Клапан

S/N 17312-

1шт.

2

RM 80625510

Cable harness

1шт.

2

RM 80625510

Cable harness

1шт.

3

RM 13909932

Tape

1шт.

3

RM 13909932

Tape

1шт.

Выбрано товаров: 6