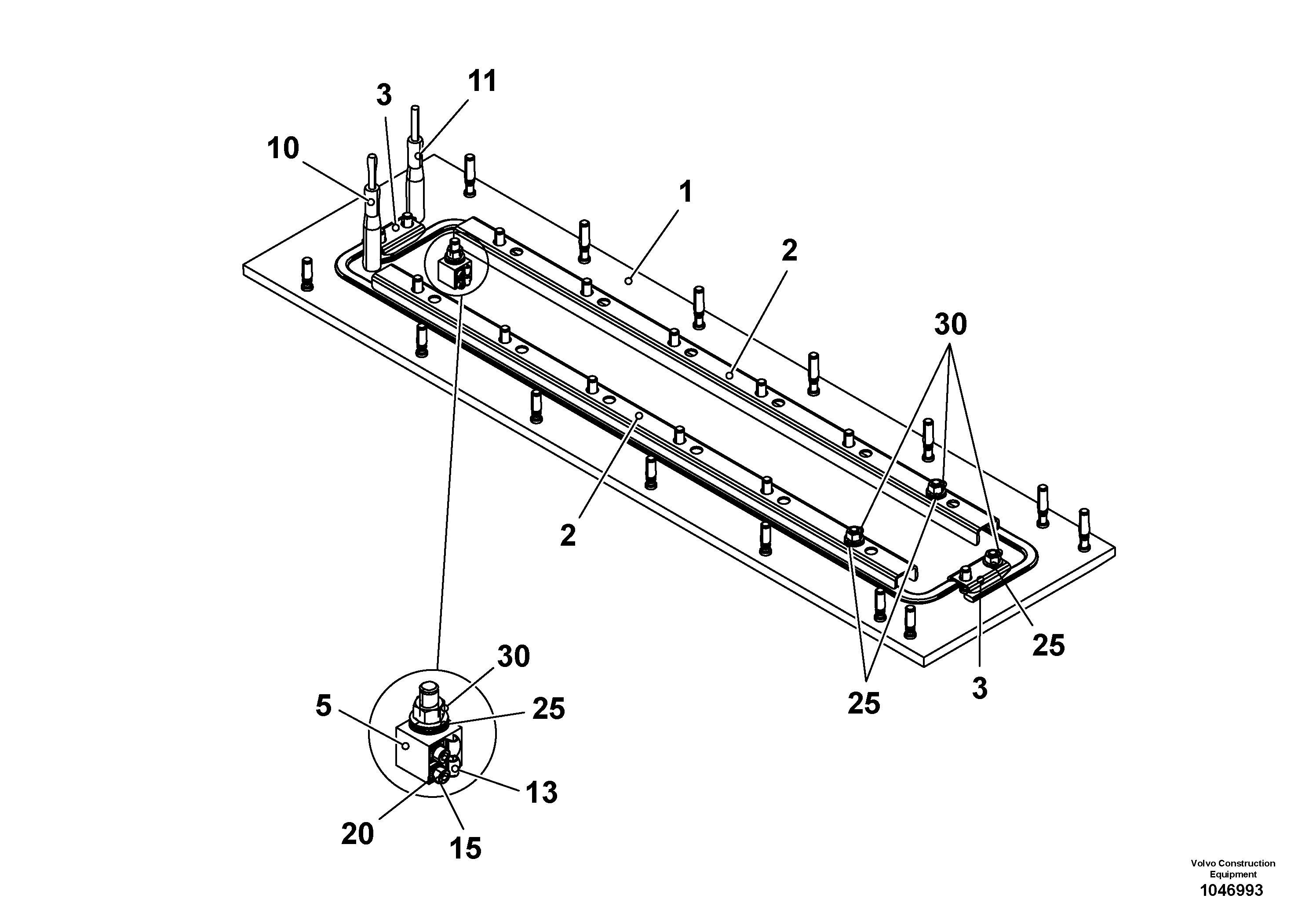
Запчасти Volvo ABG7820 71311 Heated screed plate for basic screed VB 78 ETC ATT. SCREED 2,5 - 9,0 M ABG5820/6820/7820/7820B

Схема запчастей Volvo ABG7820 - 71311 Heated screed plate for basic screed VB 78 ETC ATT. SCREED 2,5 - 9,0 M ABG5820/6820/7820/7820B
FIT
1:1
100%

Артикул

Название

Примечание

Количество

1

RM 80617012

Screed Plate

BS RH

1шт.

10

RM 80632979

Heater

LH, 1090 BENDED

1шт.

11

RM 80632961

Heater

RH, 1090 BENDED

1шт.

13

RM 13913801

Зажим

1шт.

13

RM 13913801

Зажим

1шт.

15

RM 96713615

Винт шестигранник (торцевой ключ)

1шт.

2

RM 87971719

Support Strip

1шт.

20

RM 58832916

Стопорная шайба (кольцо)

1шт.

20

RM 58832916

Стопорная шайба (кольцо)

1шт.

25

RM 14108344

Шайба пружинная

1шт.

25

RM 14108344

Шайба пружинная

1шт.

3

RM 87966008

Angle Bracket

SHORT

1шт.

3

RM 87966008

Angle Bracket

SHORT

1шт.

30

RM 96719174

Hexagon nut

1шт.

30

RM 96719174

Hexagon nut

1шт.

5

RM 54445549

Корпус клапана

1шт.

Выбрано товаров: 16