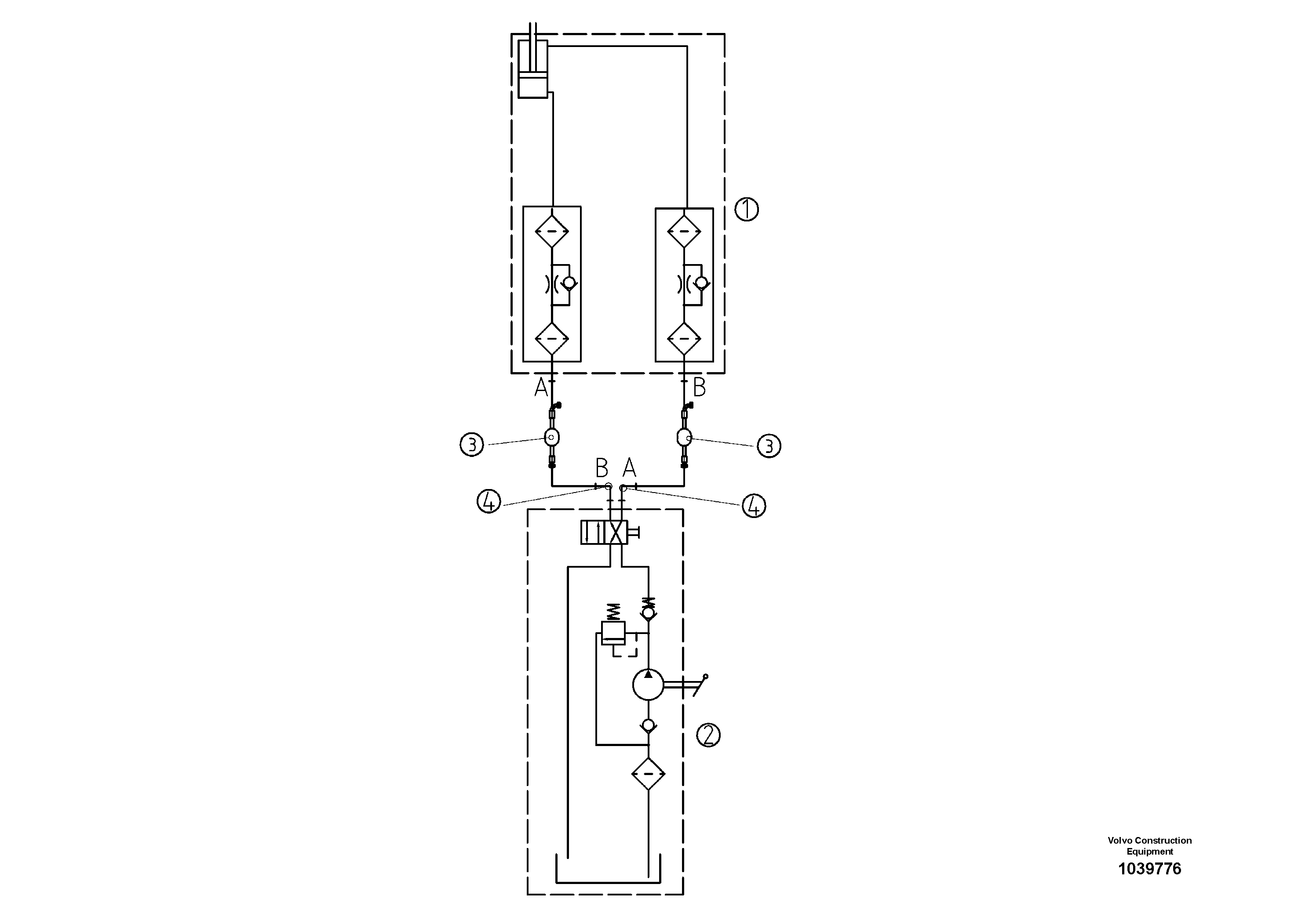
Запчасти Volvo ABG8820B 51881 Hydraulic diagram ABG8820/ABG8820B ABG8820 S/N 21098-23354 ABG8820B S/N 23355-

Схема запчастей Volvo ABG8820B - 51881 Hydraulic diagram ABG8820/ABG8820B ABG8820 S/N 21098-23354 ABG8820B S/N 23355-
FIT
1:1
100%

Артикул

Название

Примечание

Количество

1

RM 80626369

Гидроцилиндр

1шт.

1

RM 80626369

Гидроцилиндр

1шт.

2

RM 80629553

Гидронасос (основной насос)

1шт.

2

RM 80629553

Гидронасос (основной насос)

1шт.

3

RM 80630833

Шланг

1шт.

3

RM 80630833

Шланг

1шт.

4

RM 14105183

Фиттинг

1шт.

4

RM 14105183

Фиттинг

1шт.

Выбрано товаров: 8