Запчасти Volvo ABG8820B 54638 Emulsion Spraying System ABG8820/ABG8820B ABG8820 S/N 21098-23354 ABG8820B S/N 23355-

Схема запчастей Volvo ABG8820B - 54638 Emulsion Spraying System ABG8820/ABG8820B ABG8820 S/N 21098-23354 ABG8820B S/N 23355-
FIT
1:1
100%

Артикул

Название

Примечание

Количество

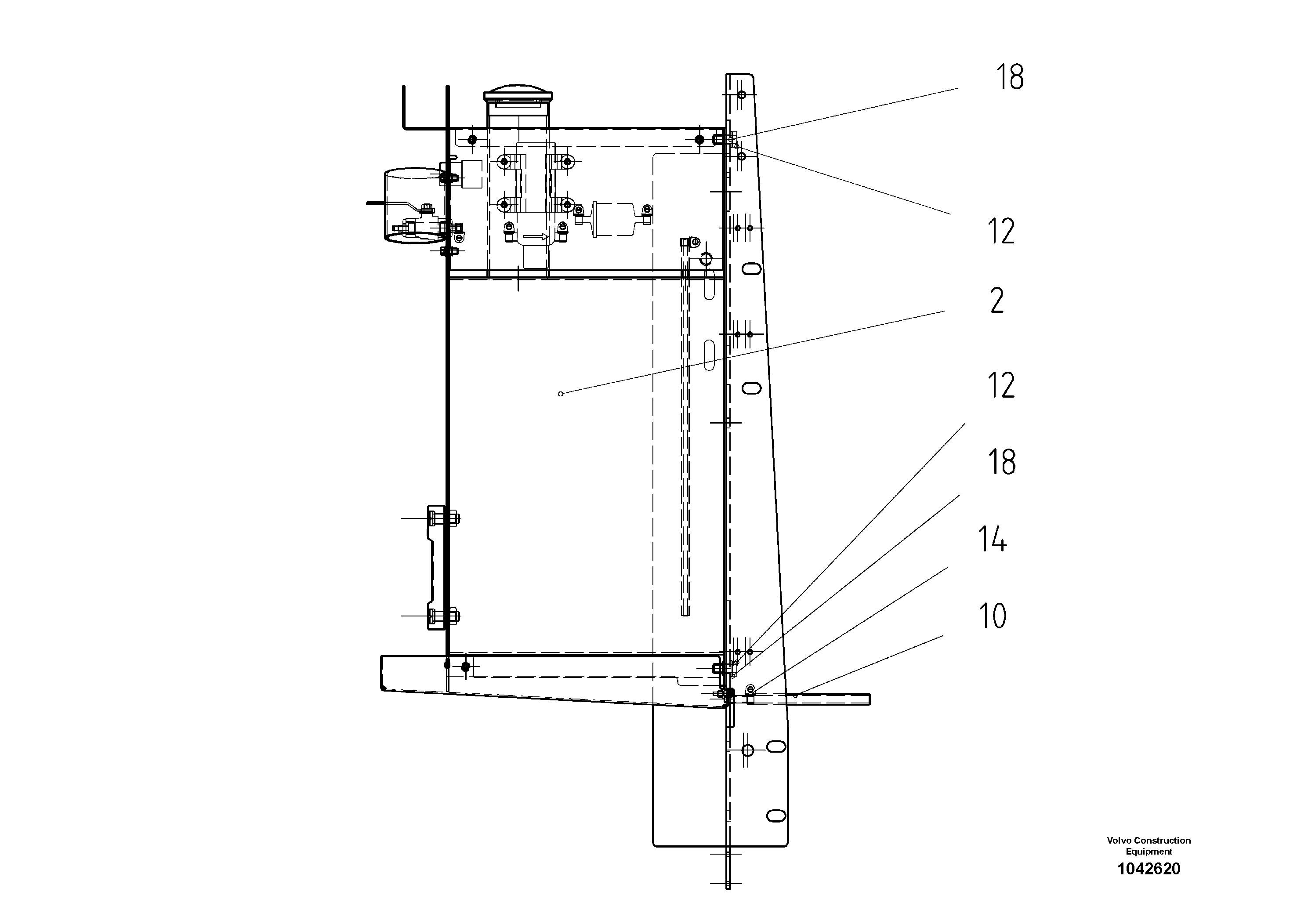
10

RM 14330997

Drain Hose

1шт.

10

RM 14330997

Drain Hose

1шт.

12

RM 96713318

Винт шестигранник

1шт.

12

RM 96713318

Винт шестигранник

1шт.

14

RM 13936992

Hose Clamp

1шт.

14

RM 13936992

Hose Clamp

1шт.

18

RM 13907761

Стопорная шайба (кольцо)

1шт.

18

RM 13907761

Стопорная шайба (кольцо)

1шт.

2

RM 80748049

Emulsion Spraying System

1шт.

Выбрано товаров: 9