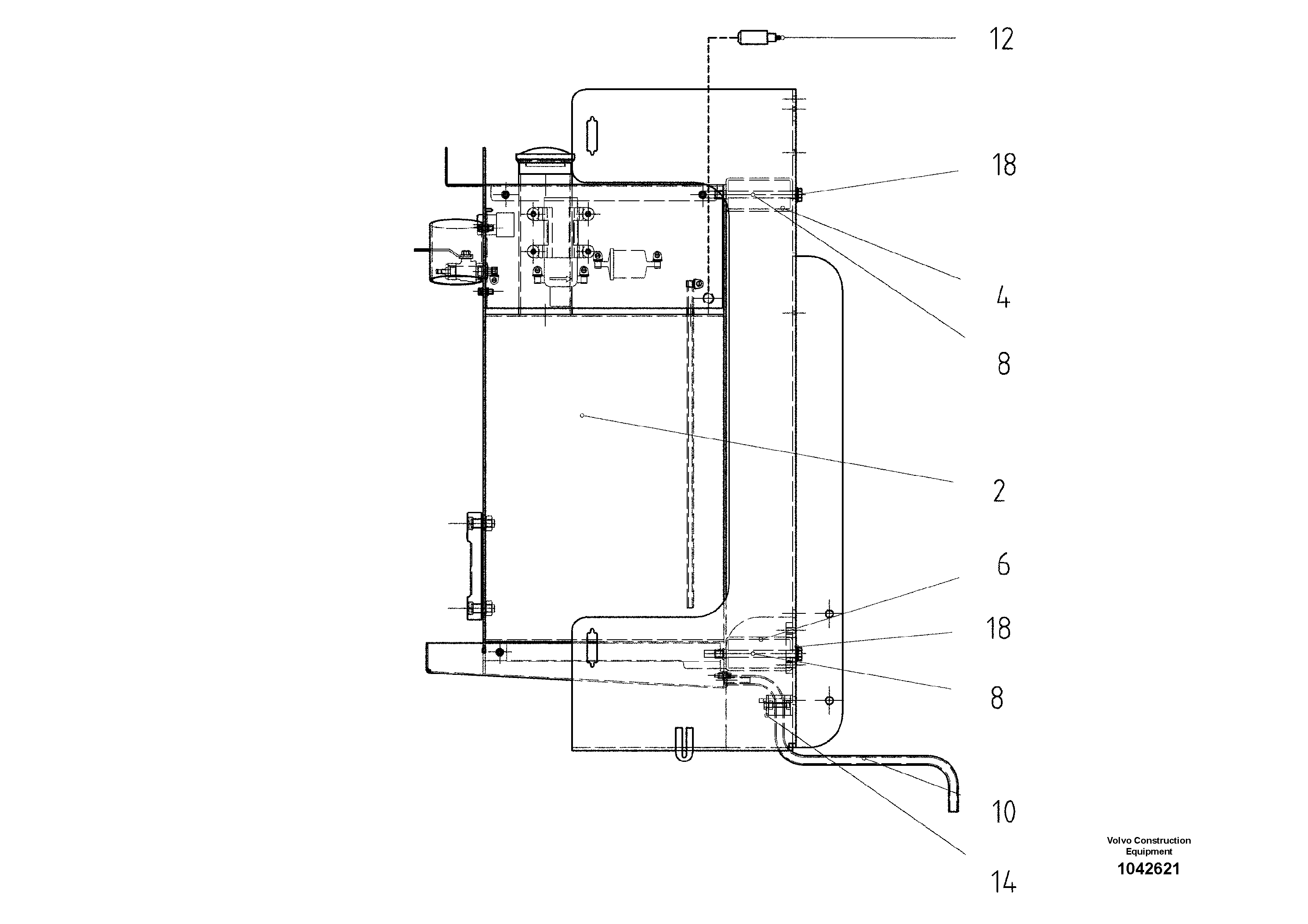
Запчасти Volvo ABG9820 47860 Emulsion Spraying System ABG9820 S/N 20812 -

Схема запчастей Volvo ABG9820 - 47860 Emulsion Spraying System ABG9820 S/N 20812 -
FIT
1:1
100%

Артикул

Название

Примечание

Количество

10

RM 80747025

Drain pipe

EMU 525

1шт.

12

RM 58824376

Пробка (заглушка)

1шт.

14

RM 13907514

Зажим

1шт.

14

RM 13907514

Зажим

1шт.

18

RM 13907761

Стопорная шайба (кольцо)

1шт.

18

RM 13907761

Стопорная шайба (кольцо)

1шт.

2

RM 80748049

Emulsion Spraying System

1шт.

4

RM 13904859

Вставка

1шт.

6

RM 13904867

Spacer Plate

1шт.

8

RM 96750526

Винт шестигранник

1шт.

8

RM 96750526

Винт шестигранник

1шт.

Выбрано товаров: 11