Запчасти Volvo PF4410 94107 Auger/conveyor Drive Motor PF4410 S/N 197449-

Схема запчастей Volvo PF4410 - 94107 Auger/conveyor Drive Motor PF4410 S/N 197449-
FIT
1:1
100%

Артикул

Название

Примечание

Количество

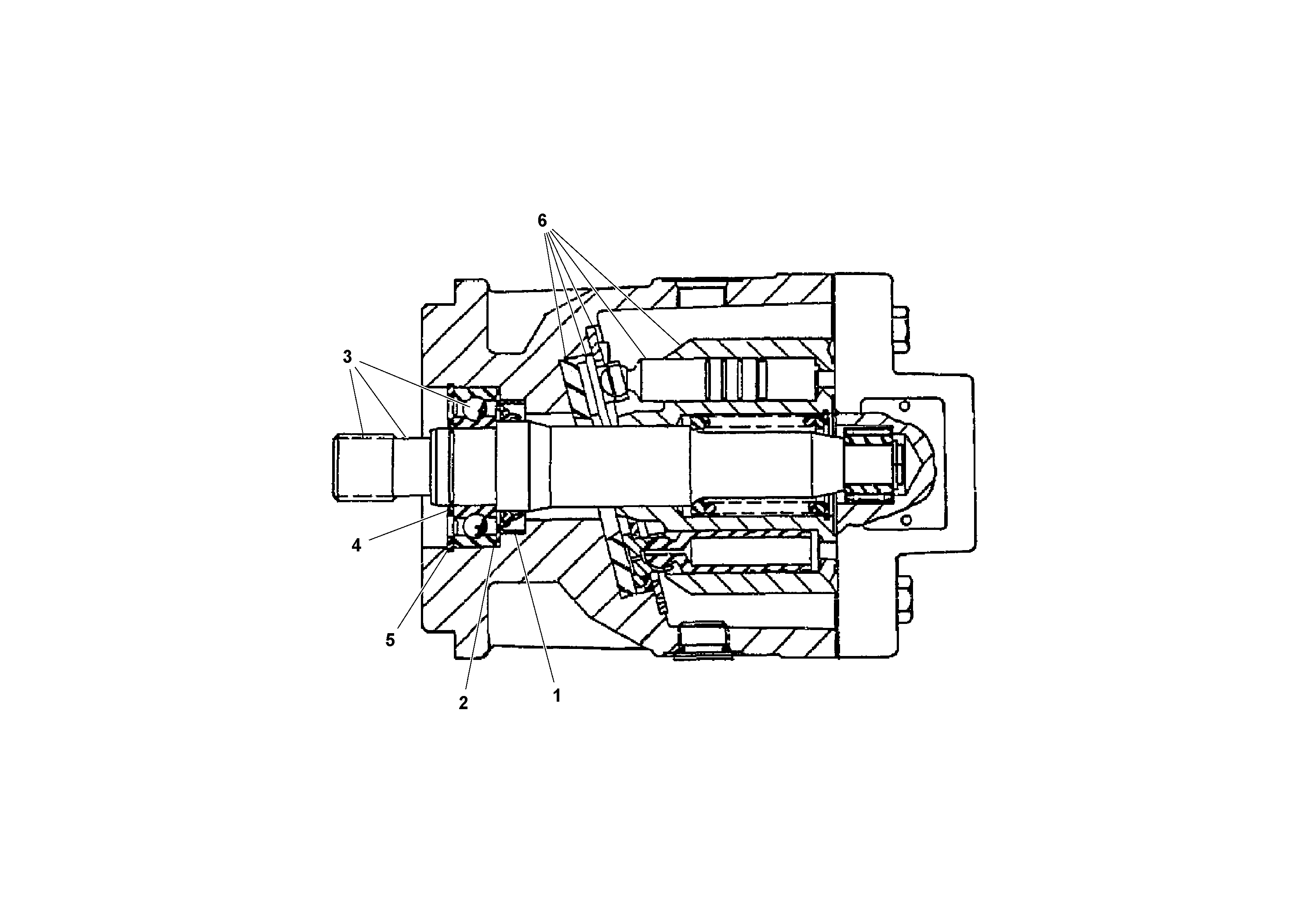
RM 20926218

Sealing kit

1шт.

RM 20926218

Sealing kit

1шт.

RM 20928982

Гидромотор

1шт.

1

RM 20925632

Sealing

1шт.

1

RM 20925632

Sealing

1шт.

2

RM 20172433

Шайба

1шт.

2

RM 20172433

Шайба

1шт.

3

RM 20177341

Вал

1шт.

3

RM 20177341

Вал

1шт.

4

RM 13774260

Retaining ring

1шт.

4

RM 13774260

Retaining ring

1шт.

5

RM 13774278

Retaining ring

1шт.

6

RM 13792072

Ремкоплект поршня

1шт.

Выбрано товаров: 13