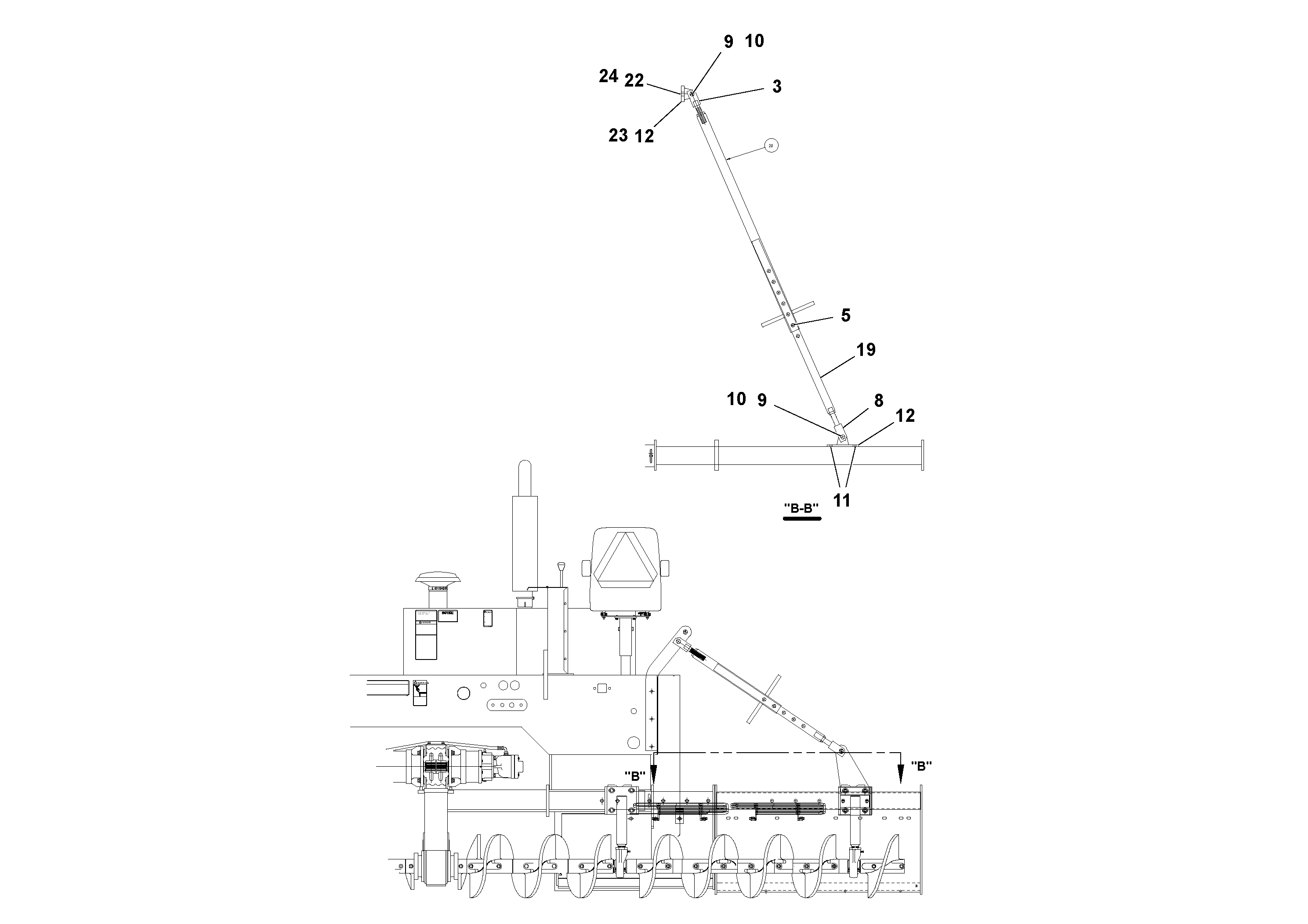
Запчасти Volvo PF4410 73216 Auger Tunnel Extension Brace Kit PF4410 S/N 375009-

Схема запчастей Volvo PF4410 - 73216 Auger Tunnel Extension Brace Kit PF4410 S/N 375009-
FIT
1:1
100%

Артикул

Название

Примечание

Количество

10

RM 95458329

Split pin

1шт.

10

RM 95458329

Split pin

1шт.

11

RM 95950119

Винт шестигранник

1шт.

12

RM 20262242

Кронштейн

1шт.

19

RM 20301404

Трубка

1шт.

22

RM 95931291

Стопорная шайба (кольцо)

1шт.

23

RM 20308904

Кронштейн

1шт.

24

RM 95995262

Болт

1шт.

24

RM 95995262

Болт

1шт.

3

RM 20213716

Вилка

1шт.

5

RM 95494787

Split pin

1шт.

8

RM 20213666

Вилка

1шт.

9

RM 20182234

Вилка

1шт.

Выбрано товаров: 13