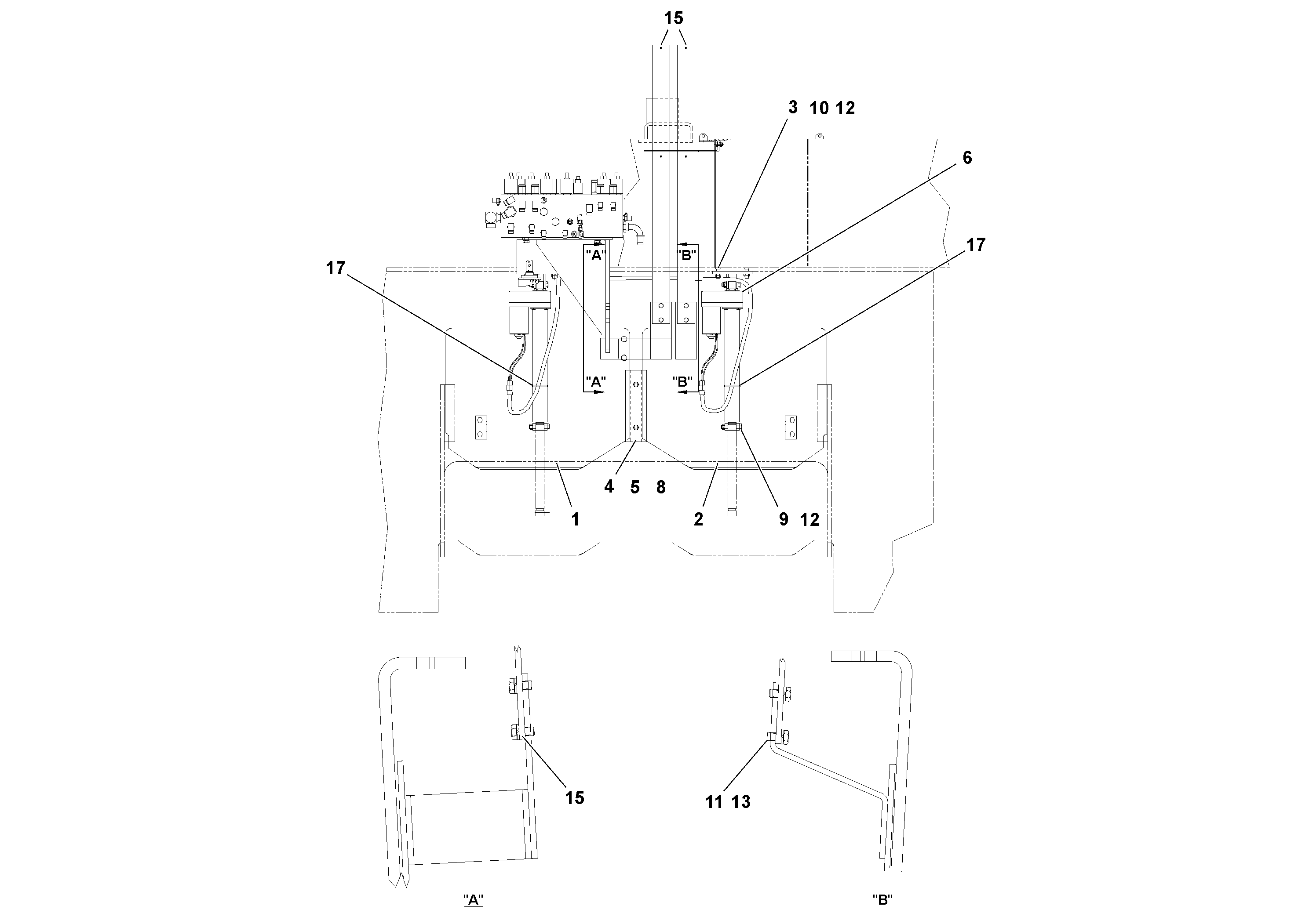
Запчасти Volvo PF4410 79413 Power Flowgate Arrangement PF4410 S/N 375009-

Схема запчастей Volvo PF4410 - 79413 Power Flowgate Arrangement PF4410 S/N 375009-
FIT
1:1
100%

Артикул

Название

Примечание

Количество

1

RM 20332078

Gate

1шт.

10

RM 20921276

Винт шестигранник

1шт.

11

RM 95934550

Винт шестигранник

1шт.

11

RM 95934550

Винт шестигранник

1шт.

12

RM 95943080

Lock nut

1шт.

12

RM 95943080

Lock nut

1шт.

13

RM 95931432

Стопорная шайба (кольцо)

1шт.

13

RM 95931432

Стопорная шайба (кольцо)

1шт.

15

RM 46625786

Depth Gauge Bar

1шт.

17

RM 20933685

Cable tie

1шт.

17

RM 20933685

Cable tie

1шт.

2

RM 20332086

Flow gate

1шт.

3

RM 46682399

Кронштейн

1шт.

4

RM 21141569

Guide

1шт.

5

RM 20251500

Вставка

1шт.

6

RM 20946851

Актуатор

1шт.

8

RM 20921516

Болт

1шт.

9

RM 95928958

Винт шестигранник

1шт.

9

RM 95928958

Винт шестигранник

1шт.

Выбрано товаров: 19