Запчасти Volvo PF6110 7324 Двигатель в сборе PF6110 S/N 197474 -

Схема запчастей Volvo PF6110 - 7324 Двигатель в сборе PF6110 S/N 197474 -
FIT
1:1
100%

Артикул

Название

Примечание

Количество

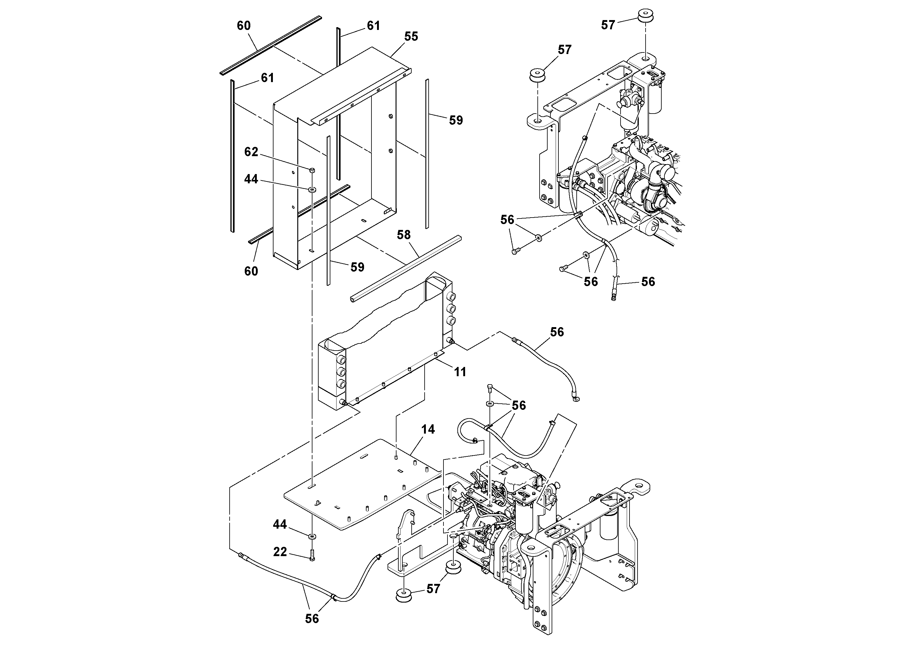
14

RM 43813500

Subframe

1шт.

14

RM 43813500

Subframe

1шт.

22

RM 96702444

Винт шестигранник

1шт.

22

RM 96702444

Винт шестигранник

1шт.

44

RM 96712237

Плоская шайба

1шт.

44

RM 96712237

Плоская шайба

1шт.

55

RM 13339270

Крышка

1шт.

55

RM 13339270

Крышка

1шт.

57

RM 13092929

Rubber Damper

1шт.

57

RM 13092929

Rubber Damper

1шт.

58

RM 13339304

Sealing

1шт.

58

RM 13339304

Sealing

1шт.

59

RM 13339312

Weatherstrip

1шт.

59

RM 13339312

Weatherstrip

1шт.

60

RM 43813583

Sealing

1шт.

60

RM 43813583

Sealing

1шт.

61

RM 43813575

Sealing

1шт.

61

RM 43813575

Sealing

1шт.

62

RM 96705652

Lock nut

1шт.

62

RM 96705652

Lock nut

1шт.

Выбрано товаров: 20