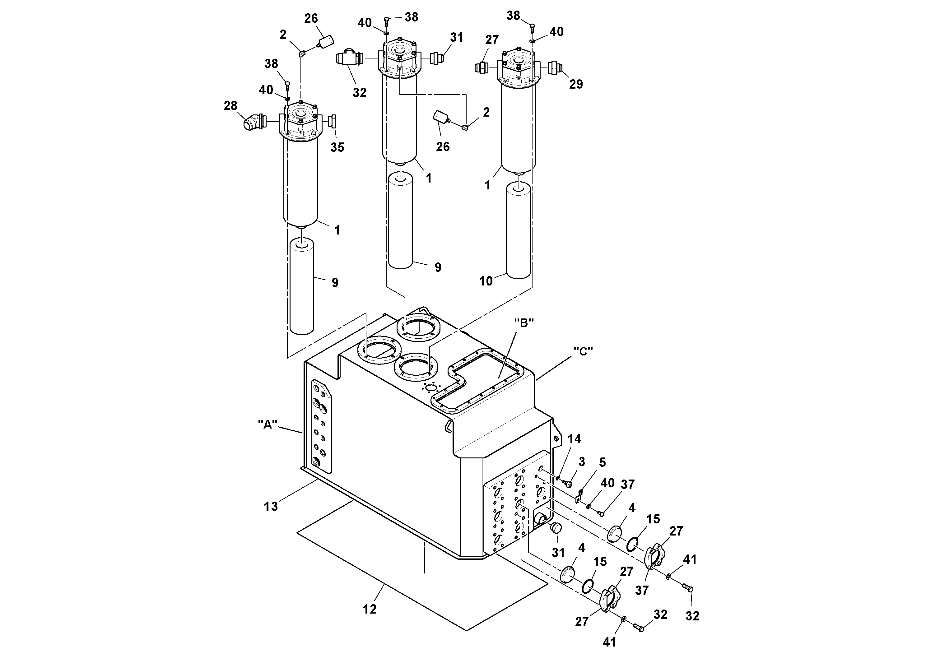
Запчасти Volvo PF6110 106716 Hydraulic Tank Assembly PF6110 S/N 197474 -

Схема запчастей Volvo PF6110 - 106716 Hydraulic Tank Assembly PF6110 S/N 197474 -
FIT
1:1
100%

Артикул

Название

Примечание

Количество

RM 43938893

Sealing

1шт.

RM 43938919

Прокладка

1шт.

RM 43938885

Клапан

1шт.

RM 43938877

Пружина

1шт.

RM 43938901

Sealing

1шт.

1

RM 13422050

Filter housing

1шт.

10

RM 43902881

Hydraulic fluid filter

1шт.

12

RM 43945104

Rubber mat

1шт.

13

43968296

Intmd Boom

1шт.

14

RM 59378679

Кольцо уплотнительное (О-кольцо)

1шт.

15

RM 59990051

Кольцо уплотнительное (О-кольцо)

1шт.

2

RM 13422076

Переключатель

1шт.

26

RM 95365599

Elbow

1шт.

27

RM 95371233

Адаптер

1шт.

28

RM 95387346

Elbow

1шт.

29

RM 95402830

Адаптер

1шт.

3

RM 13424684

Temperature sensor

1шт.

31

RM 95754644

95754644

1шт.

31

RM 95754644

Фиттинг

1шт.

32

RM 95920708

Винт шестигранник

1шт.

32

RM 95920708

Винт шестигранник

1шт.

35

RM 95938999

Кольцо уплотнительное (О-кольцо)

1шт.

37

RM 96701479

Винт шестигранник

1шт.

38

RM 96701917

Винт шестигранник

1шт.

38

RM 96701917

Винт шестигранник

1шт.

4

RM 13481171

Фланец

1шт.

40

RM 96714399

Плоская шайба

1шт.

40

RM 96714399

Плоская шайба

1шт.

41

RM 96738596

Шайба

1шт.

5

VOE 14522575

Скоба (хомут)

1шт.

5

VOE 14522575

Скоба (хомут)

1шт.

9

RM 43822048

Filter insert

1шт.

Выбрано товаров: 32