Запчасти Volvo PF6110 106261 Conveyor Installation PF6110 S/N 197474 -

Схема запчастей Volvo PF6110 - 106261 Conveyor Installation PF6110 S/N 197474 -
FIT
1:1
100%

Артикул

Название

Примечание

Количество

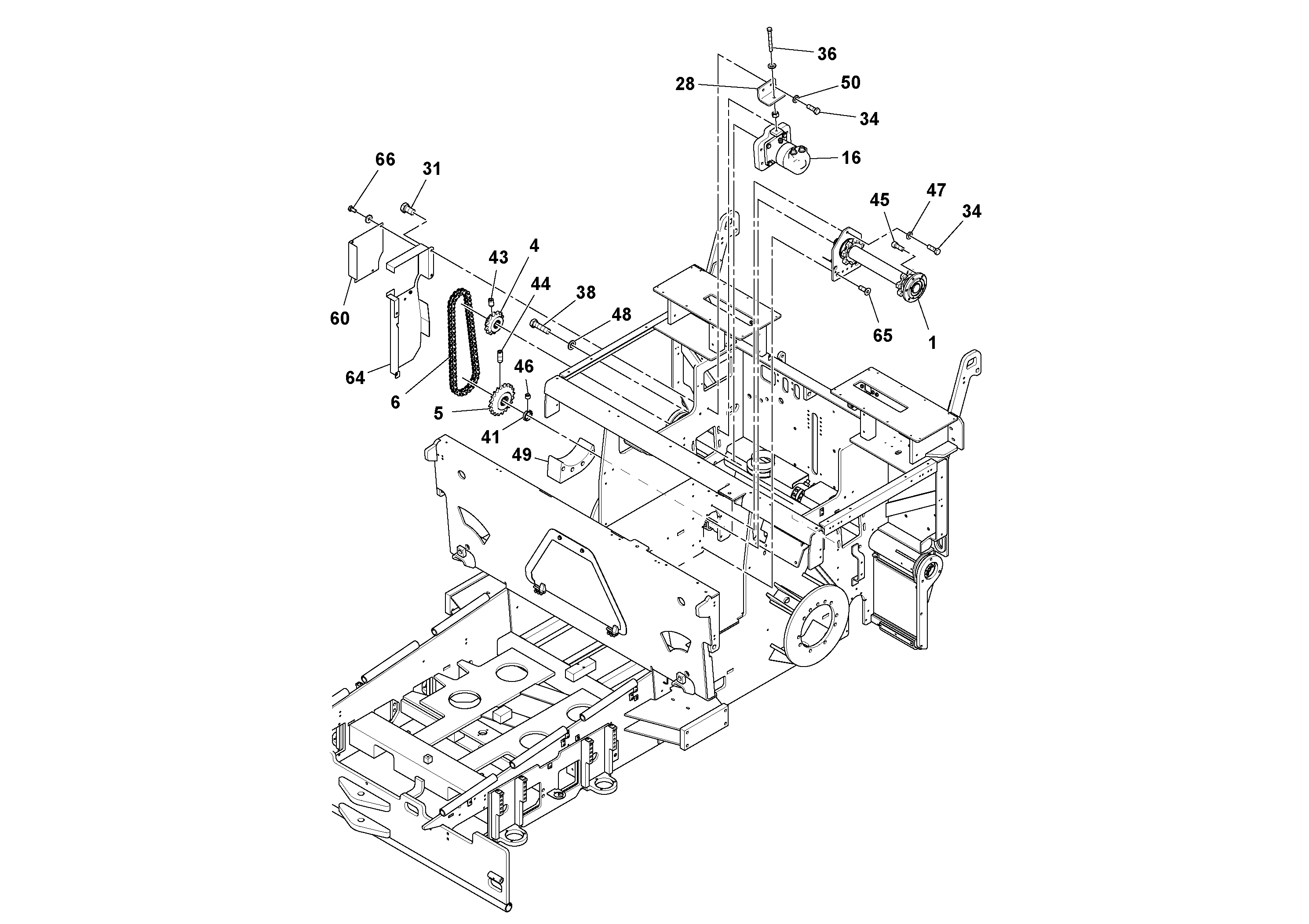
28

RM 13475116

Пластина

1шт.

31

RM 96719869

Винт шестигранник

1шт.

31

RM 96719869

Винт шестигранник

1шт.

34

RM 96702329

Винт шестигранник

1шт.

36

RM 96746540

Винт шестигранник

1шт.

38

RM 96704515

Винт шестигранник

1шт.

4

RM 13404801

Звездочка

1шт.

41

RM 13475538

Retaining ring

1шт.

43

RM 96748058

Болт

1шт.

44

RM 96748066

Болт

1шт.

45

RM 96747001

Винт шестигранник (торцевой ключ)

1шт.

46

RM 96748025

Болт

1шт.

47

RM 96738596

Шайба

1шт.

48

RM 96738612

Плоская шайба

1шт.

48

RM 96738612

Плоская шайба

1шт.

49

RM 13393335

Вставка

1шт.

5

RM 13404355

Звездочка

1шт.

50

RM 96704895

Плоская шайба

1шт.

50

RM 96704895

Плоская шайба

1шт.

6

RM 13525795

Chain

1шт.

60

RM 13529672

Крышка

RH

1шт.

64

RM 13849781

Guard

RH

1шт.

65

RM 96715206

Винт шестигранник (торцевой ключ)

1шт.

66

RM 96702394

Винт шестигранник

1шт.

66

RM 96702394

Винт шестигранник

1шт.

68

RM 96745104

Плоская шайба

1шт.

69

RM 96711882

Hexagon nut

1шт.

69

RM 96711882

Hexagon nut

1шт.

Выбрано товаров: 28