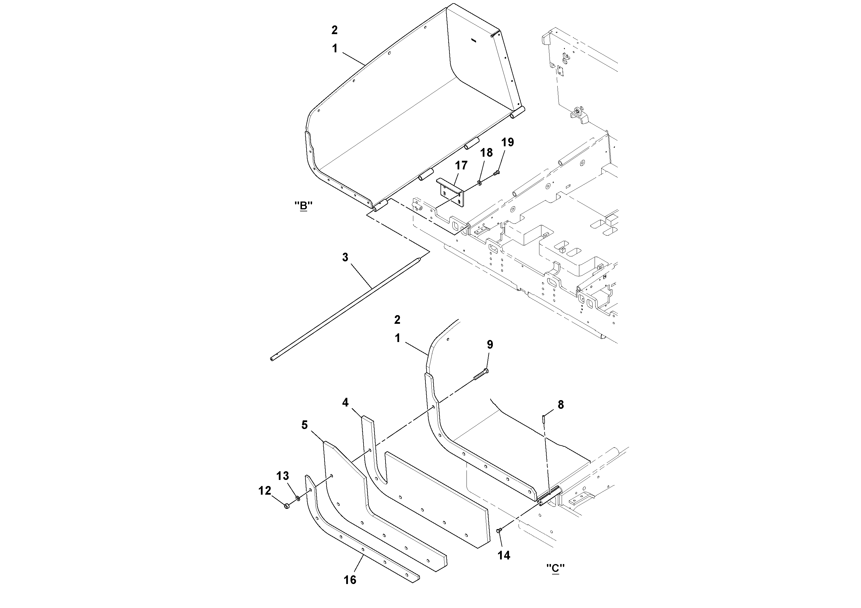
Запчасти Volvo PF6110 69216 Hopper Installation PF6110 S/N 197474 -

Схема запчастей Volvo PF6110 - 69216 Hopper Installation PF6110 S/N 197474 -
FIT
1:1
100%

Артикул

Название

Примечание

Количество

1

RM 43969195

Hopper

LH

1шт.

12

RM 96711882

Hexagon nut

1шт.

12

RM 96711882

Hexagon nut

1шт.

13

RM 96738612

Плоская шайба

1шт.

13

RM 96738612

Плоская шайба

1шт.

14

RM 96719869

Винт шестигранник

1шт.

14

RM 96719869

Винт шестигранник

1шт.

16

RM 43833029

Flange plate

1шт.

17

RM 43927169

Stop plate

1шт.

18

RM 96746417

Плоская шайба

1шт.

18

RM 96746417

Плоская шайба

1шт.

19

RM 96701925

Винт шестигранник

1шт.

2

RM 43969211

Hopper

RH

1шт.

20

RM 20933081

Вилка

1шт.

21

RM 95923934

Split pin

LH

1шт.

21

RM 95923934

Split pin

LH

1шт.

3

RM 13399605

Палец

1шт.

4

RM 43833003

Flap

1шт.

5

RM 43833011

Rubber plate

1шт.

8

RM 95998670

Палец

1шт.

8

RM 95998670

Палец

1шт.

9

RM 96701503

Винт шестигранник

1шт.

Выбрано товаров: 22