Запчасти Volvo PF6110 74806 Auger Shaft Assembly PF6110 S/N 197474 -

Схема запчастей Volvo PF6110 - 74806 Auger Shaft Assembly PF6110 S/N 197474 -
FIT
1:1
100%

Артикул

Название

Примечание

Количество

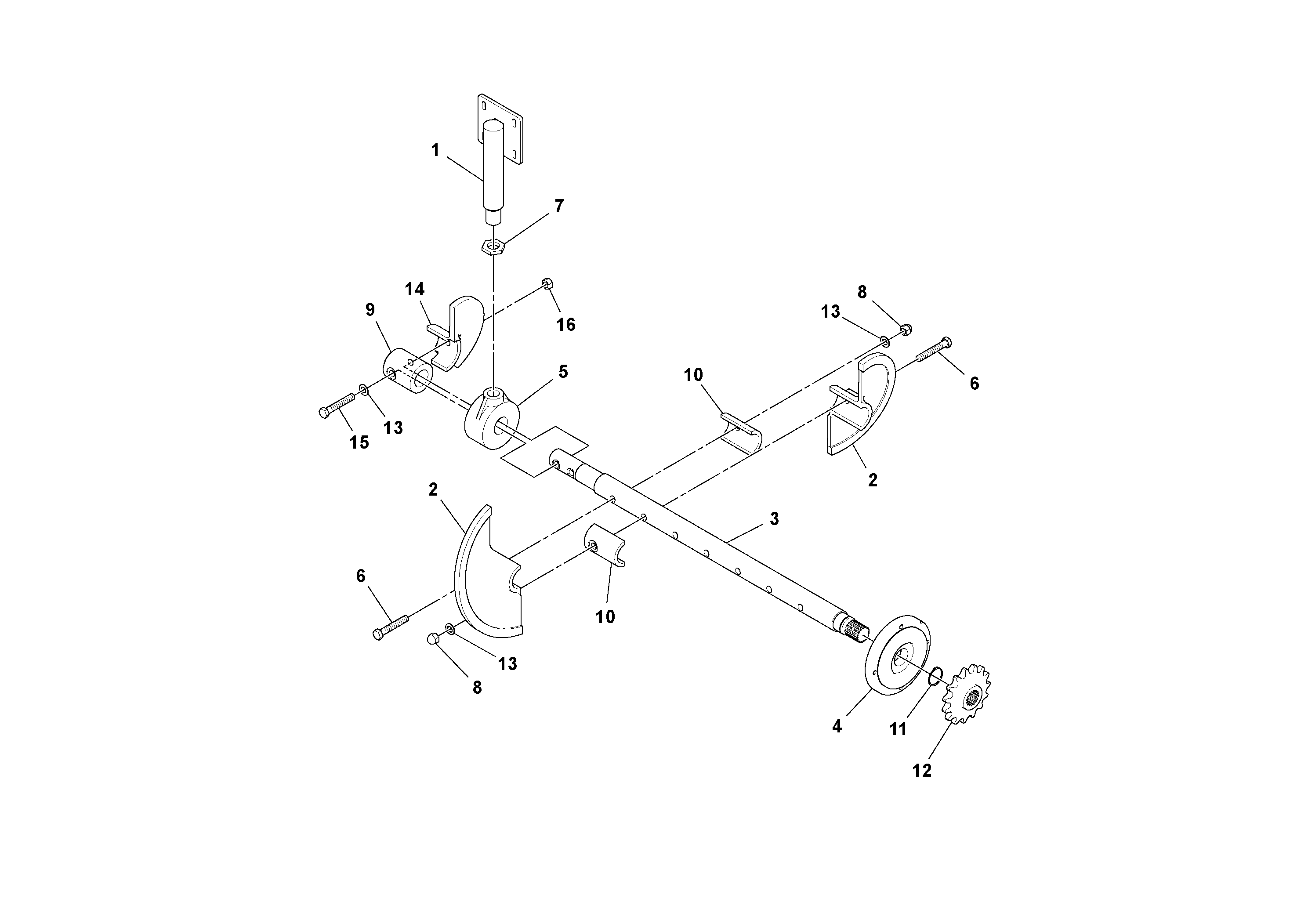
RM 13527981

Подшипник

1шт.

RM 13527981

Подшипник

1шт.

1

RM 13403860

Hanger

1шт.

10

RM 58831389

Protecting cover

1шт.

10

RM 58831389

Protecting cover

1шт.

11

RM 96711361

Retaining ring

1шт.

11

RM 96711361

Retaining ring

1шт.

12

RM 13403720

Звездочка

1шт.

13

RM 96738620

Плоская шайба

1шт.

13

RM 96738620

Плоская шайба

1шт.

14

RM 80842032

Auger

1шт.

15

RM 96741442

Винт шестигранник

1шт.

15

RM 96741442

Винт шестигранник

1шт.

16

RM 96720446

Hexagon nut

1шт.

16

RM 96720446

Hexagon nut

1шт.

2

RM 58831629

Auger

1шт.

2

RM 58831629

Auger

1шт.

3

RM 13428941

Вал

1шт.

4

RM 13403357

Подшипник

1шт.

5

RM 13403340

Hanger

1шт.

6

RM 96727862

Винт шестигранник

1шт.

7

RM 20944328

Lock nut

1шт.

8

RM 96746516

Гайка

1шт.

9

RM 13917851

Protecting cover

1шт.

Выбрано товаров: 24