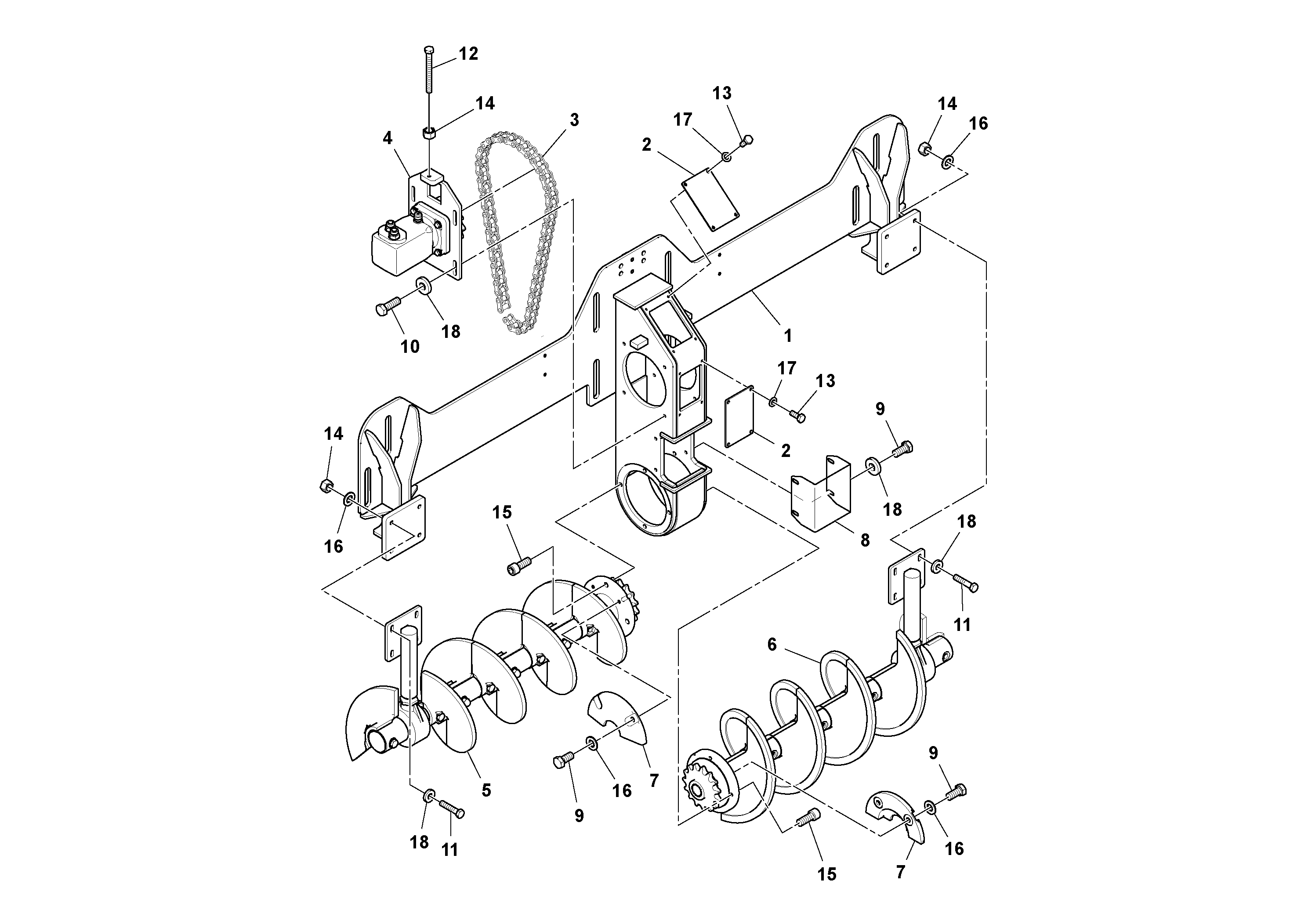
Запчасти Volvo PF6110 99200 Auger Assembly PF6110 S/N 197474 -

Схема запчастей Volvo PF6110 - 99200 Auger Assembly PF6110 S/N 197474 -
FIT
1:1
100%

Артикул

Название

Примечание

Количество

1

RM 13491675

Box

1шт.

10

RM 96702329

Винт шестигранник

1шт.

11

RM 96705637

Винт шестигранник

1шт.

11

RM 96705637

Винт шестигранник

1шт.

12

RM 96746540

Винт шестигранник

1шт.

13

RM 96702824

Винт шестигранник

1шт.

13

RM 96702824

Винт шестигранник

1шт.

14

RM 96719174

Hexagon nut

1шт.

14

RM 96719174

Hexagon nut

1шт.

15

RM 96708276

Болт

1шт.

16

RM 96738596

Шайба

1шт.

17

RM 96741038

Шайба

1шт.

17

RM 96741038

Шайба

1шт.

18

RM 96712237

Плоская шайба

1шт.

18

RM 96712237

Плоская шайба

1шт.

2

RM 13407200

Panel

1шт.

3

RM 13403746

Chain

1шт.

7

RM 13403886

Bearing cover

1шт.

8

RM 13406087

Крышка

1шт.

9

RM 96701495

Винт шестигранник

1шт.

9

RM 96701495

Винт шестигранник

1шт.

Выбрано товаров: 21