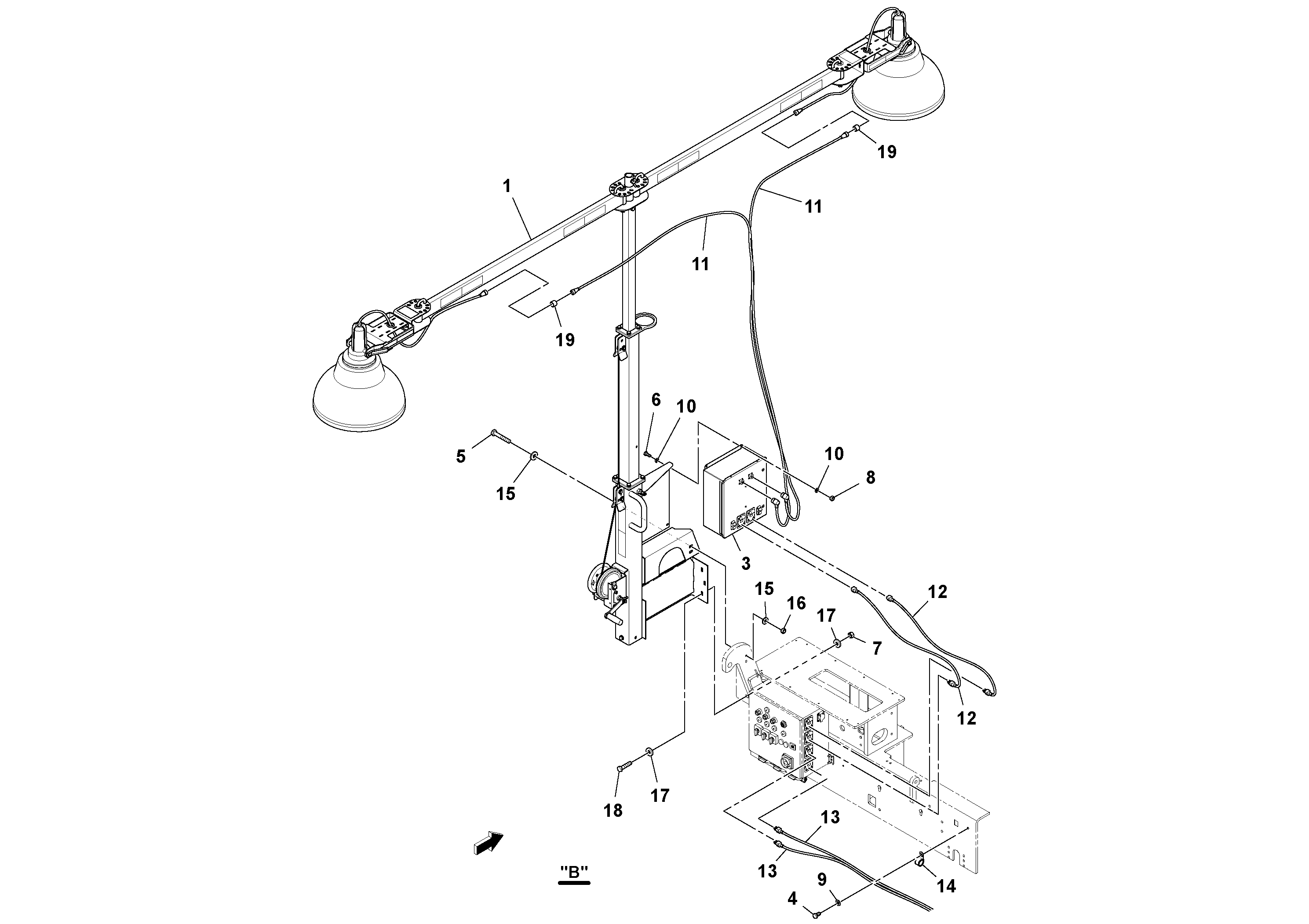
Запчасти Volvo PF6110 79705 Light Tower Kit PF6110 S/N 197474 -

Схема запчастей Volvo PF6110 - 79705 Light Tower Kit PF6110 S/N 197474 -
FIT
1:1
100%

Артикул

Название

Примечание

Количество

10

RM 96741020

Шайба

1шт.

10

RM 96741020

Шайба

1шт.

10

RM 96741020

Washer

1шт.

11

RM 43897453

Cable

1шт.

12

RM 43897743

Cable

1шт.

13

RM 43897750

Cable

1шт.

14

RM 59462945

Зажим

1шт.

14

RM 59462945

Зажим

1шт.

15

RM 96711833

Шайба

1шт.

15

RM 96711833

Шайба

1шт.

16

RM 96704812

Hexagon nut

1шт.

16

RM 96704812

Hexagon nut

1шт.

17

RM 96712237

Плоская шайба

1шт.

17

RM 96712237

Плоская шайба

1шт.

18

RM 96730395

Винт шестигранник

1шт.

19

RM 43920503

Переходник масляного фильтра

1шт.

20

RM 43940642

Safety Manual

1шт.

4

RM 96719869

Винт шестигранник

1шт.

4

RM 96719869

Винт шестигранник

1шт.

5

RM 96744503

Винт шестигранник

1шт.

5

RM 96744503

Винт шестигранник

1шт.

6

RM 96719786

Винт шестигранник

1шт.

6

RM 96719786

Винт шестигранник

1шт.

7

RM 96719174

Hexagon nut

1шт.

7

RM 96719174

Hexagon nut

1шт.

8

RM 96701370

Гайка

1шт.

8

RM 96701370

Гайка

1шт.

8

RM 96701370

Nut

1шт.

9

RM 96704895

Плоская шайба

1шт.

9

RM 96704895

Плоская шайба

1шт.

Выбрано товаров: 30