Запчасти Volvo ABG3870 55617 Material Control ABG3870 S/N 20538 -

Схема запчастей Volvo ABG3870 - 55617 Material Control ABG3870 S/N 20538 -
FIT
1:1
100%

Артикул

Название

Примечание

Количество

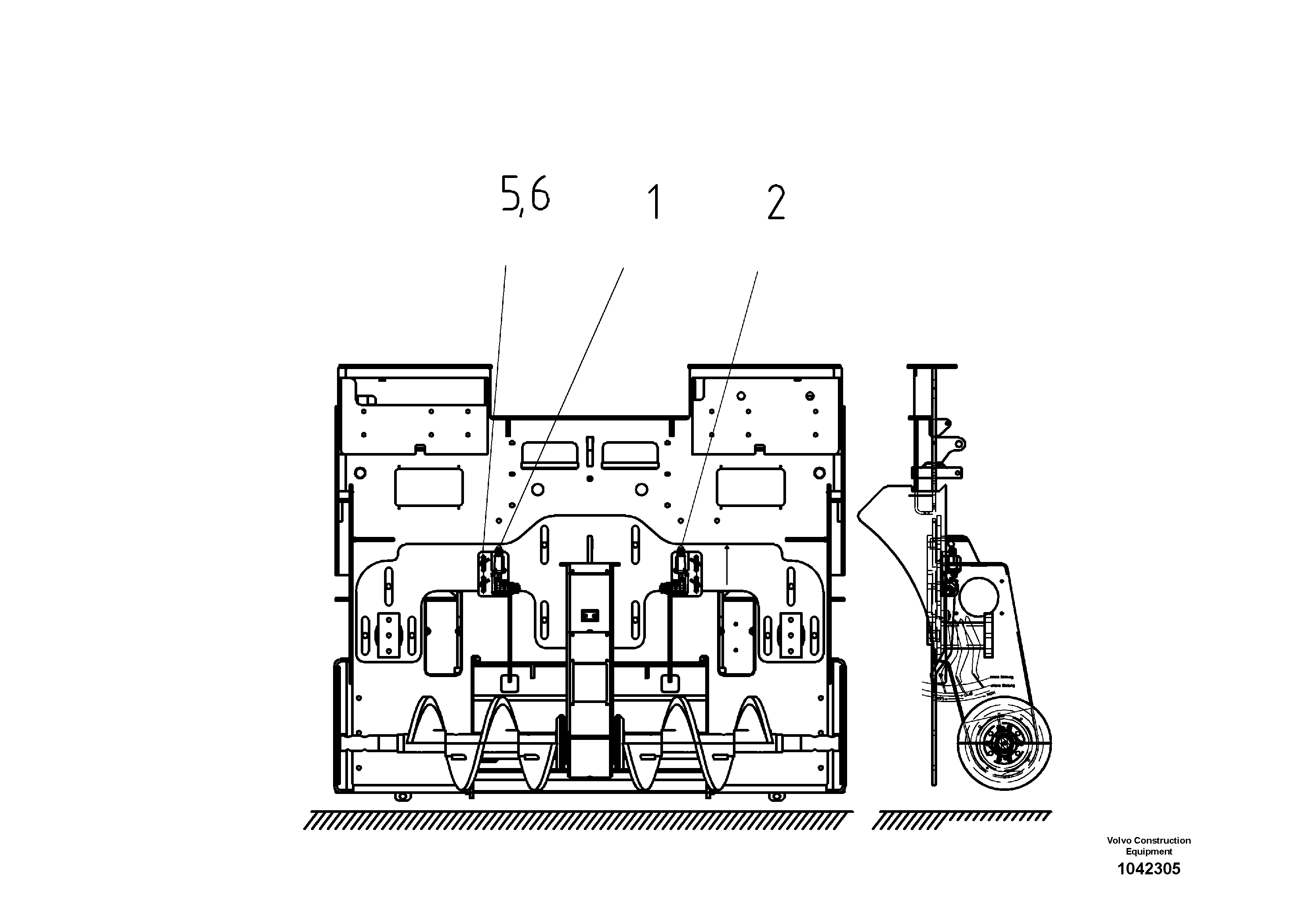
1

RM 14286496

Переключатель

LH

1шт.

1

RM 14286496

Переключатель

LH

1шт.

2

RM 14286512

Переключатель

RH

1шт.

2

RM 14286512

Переключатель

RH

1шт.

5

RM 14097794

Wing Screw

1шт.

5

RM 14097794

Wing Screw

1шт.

6

RM 14108344

Шайба пружинная

1шт.

6

RM 14108344

Шайба пружинная

1шт.

Выбрано товаров: 8