Запчасти Volvo ABG4371 S/N 0847503049- 100333 Auger Drive Assembly

Схема запчастей Volvo ABG4371 S/N 0847503049- - 100333 Auger Drive Assembly
FIT
1:1
100%

Артикул

Название

Примечание

Количество

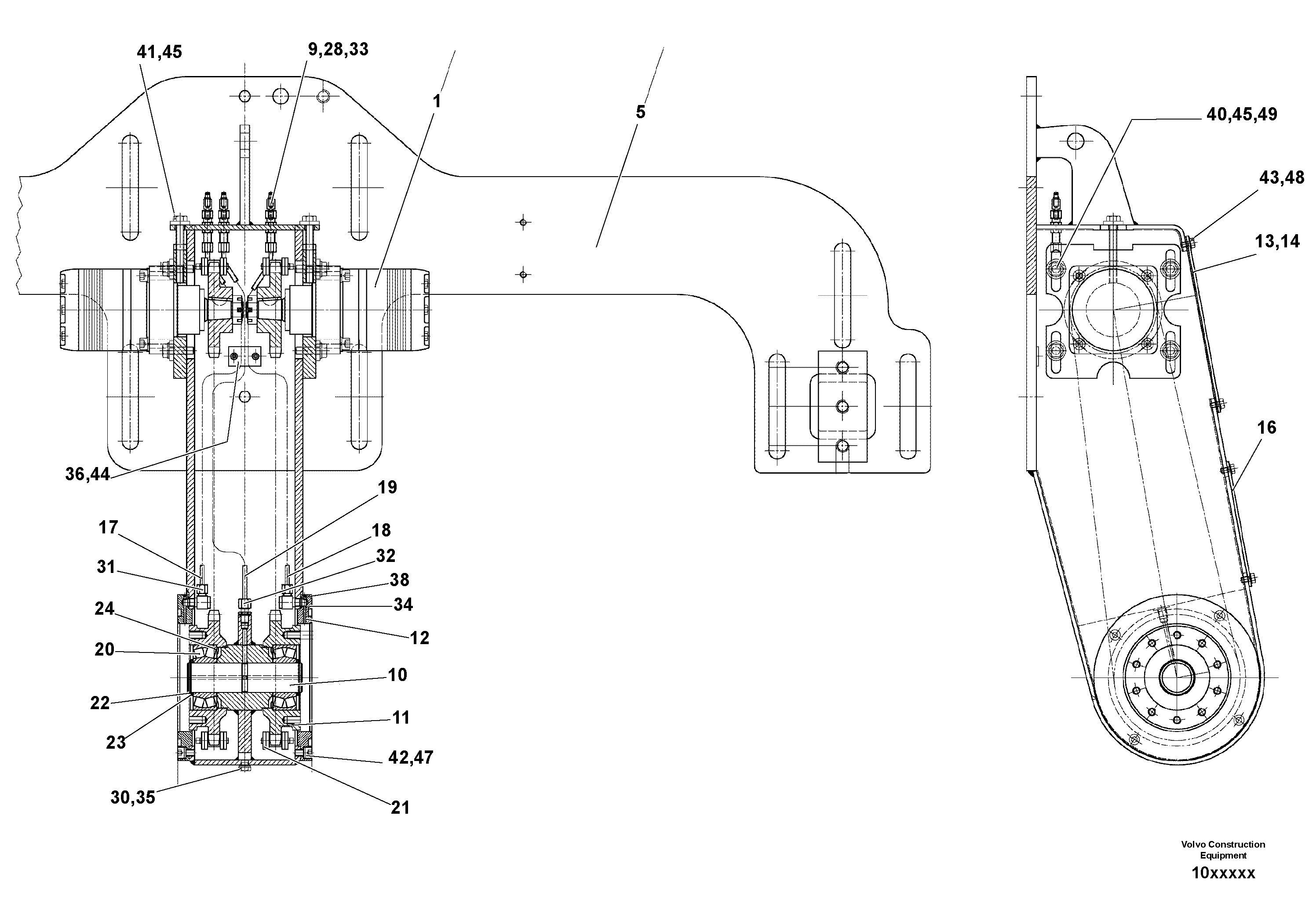
1

RM 70827860

Drive unit

1шт.

10

RM 80817067

Вал

1шт.

11

RM 14320311

Звездочка

1шт.

12

RM 80814593

Кольцо

1шт.

13

RM 14870349

Крышка

1шт.

14

RM 14882773

Прокладка

1шт.

16

RM 14848402

Крышка

1шт.

17

RM 70818158

Lubricating pipe

LH

1шт.

18

RM 70818174

Lubricating pipe

RH

1шт.

19

RM 70818166

Lubricating pipe

1шт.

20

RM 13902051

Ball bearing

1шт.

21

RM 14113138

Roller chain

1шт.

22

RM 96711304

Retaining ring

1шт.

23

RM 14088298

Back-up ring

1шт.

24

RM 14221543

Dust cover

1шт.

28

RM 58823790

Lubricating nipple

1шт.

28

RM 58823790

Lubricating nipple

1шт.

30

RM 14103675

Болт

1шт.

31

RM 13929104

Fitting screw

1шт.

31

RM 13929104

Fitting screw

1шт.

32

RM 58824202

Соединитель

1шт.

32

RM 58824202

Соединитель

1шт.

33

RM 14235287

Coupling piece

1шт.

33

RM 14235287

Coupling piece

1шт.

34

RM 13910393

Кольцо уплотнительное (О-кольцо)

1шт.

34

RM 13910393

Кольцо уплотнительное (О-кольцо)

1шт.

35

RM 58824798

Кольцо уплотнительное

1шт.

35

RM 58824798

Кольцо уплотнительное

1шт.

36

RM 13909866

Шайба

1шт.

36

RM 13909866

Шайба

1шт.

38

RM 96722921

установочный винт

1шт.

38

RM 96722921

установочный винт

1шт.

40

RM 96718895

Винт шестигранник

1шт.

40

RM 96718895

Винт шестигранник

1шт.

41

RM 96722145

Винт шестигранник

1шт.

41

RM 96722145

Винт шестигранник

1шт.

42

RM 94054921

Болт

1шт.

43

RM 96713177

Винт шестигранник

1шт.

43

RM 96713177

Винт шестигранник

1шт.

44

RM 96716519

Винт шестигранник (торцевой ключ)

1шт.

45

RM 96726112

Шайба

1шт.

45

RM 96726112

Шайба

1шт.

47

RM 96753918

Шайба пружинная

1шт.

47

RM 96753918

Шайба пружинная

1шт.

48

RM 96753926

Шайба пружинная

1шт.

49

RM 14261002

Стопорная шайба (кольцо)

1шт.

49

RM 14261002

Стопорная шайба (кольцо)

1шт.

5

RM 14282131

Member

1шт.

9

RM 14253280

Lubricating nipple

1шт.

Выбрано товаров: 49