Запчасти Volvo ABG5770 93223 Electric Big-ski ABG5770 S/N 20740 -

Схема запчастей Volvo ABG5770 - 93223 Electric Big-ski ABG5770 S/N 20740 -
FIT
1:1
100%

Артикул

Название

Примечание

Количество

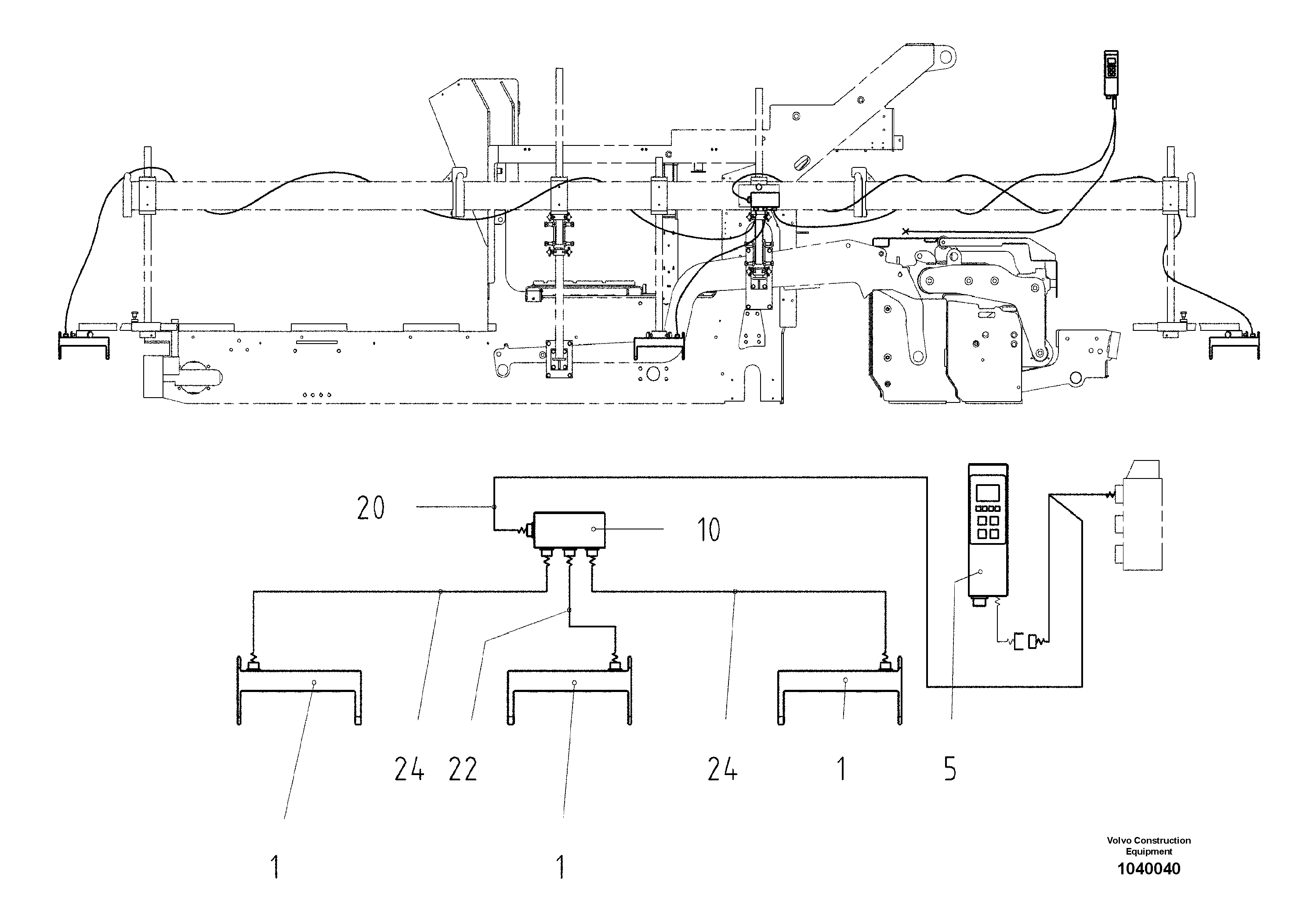
1

RM 80863426

Sensor

1шт.

1

RM 80863426

Sensor

1шт.

10

RM 80863418

Distribution box

1шт.

10

RM 80863418

Distribution box

1шт.

20

RM 80863376

Y-helix Cable

1шт.

22

RM 80863434

Helix Cable 6m

1шт.

24

RM 80863442

Helix Cable 12m

1шт.

30

RM 14269047

Case

1шт.

30

RM 14269047

Case

1шт.

5

RM 54643358

Control unit

1шт.

5

RM 54643358

Control unit

1шт.

Выбрано товаров: 11