Запчасти Volvo ABG5770 94498 Rocker Bogie ABG5770 S/N 20740 -

Схема запчастей Volvo ABG5770 - 94498 Rocker Bogie ABG5770 S/N 20740 -
FIT
1:1
100%

Артикул

Название

Примечание

Количество

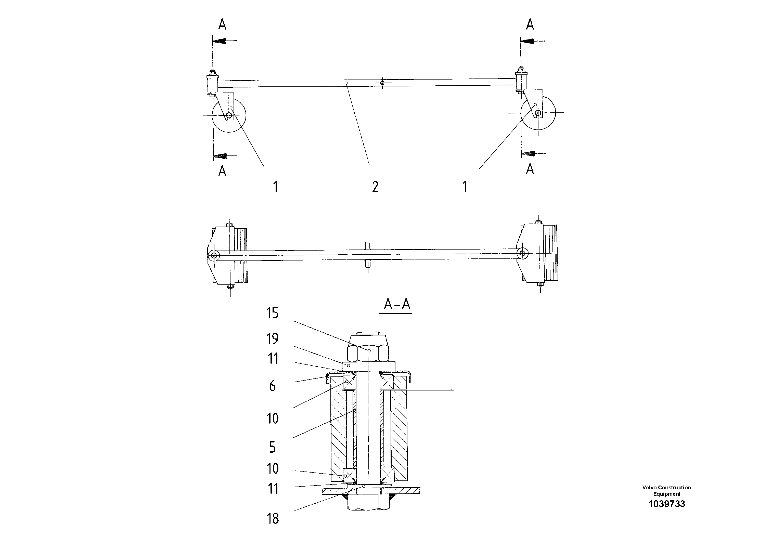
1

RM 14589204

Track roller

1шт.

1

RM 14589204

Track roller

1шт.

10

RM 13900287

Ball bearing

1шт.

10

RM 13900287

Ball bearing

1шт.

11

RM 14093439

Retaining ring

1шт.

11

RM 14093439

Retaining ring

1шт.

15

RM 14083471

Hexagon nut

1шт.

15

RM 14083471

Hexagon nut

1шт.

18

RM 96720891

Плоская шайба

1шт.

18

RM 96720891

Плоская шайба

1шт.

19

RM 96726153

Плоская шайба

1шт.

19

RM 96726153

Плоская шайба

1шт.

2

RM 14589212

Frame

1шт.

2

RM 14589212

Frame

1шт.

5

RM 14589253

Втулка (распорная)

1шт.

5

RM 14589253

Втулка (распорная)

1шт.

6

RM 14589261

Lid

1шт.

6

RM 14589261

Lid

1шт.

Выбрано товаров: 18