Запчасти Volvo ABG5770 97883 Manual Control ABG5770 S/N 20740 -

Схема запчастей Volvo ABG5770 - 97883 Manual Control ABG5770 S/N 20740 -
FIT
1:1
100%

Артикул

Название

Примечание

Количество

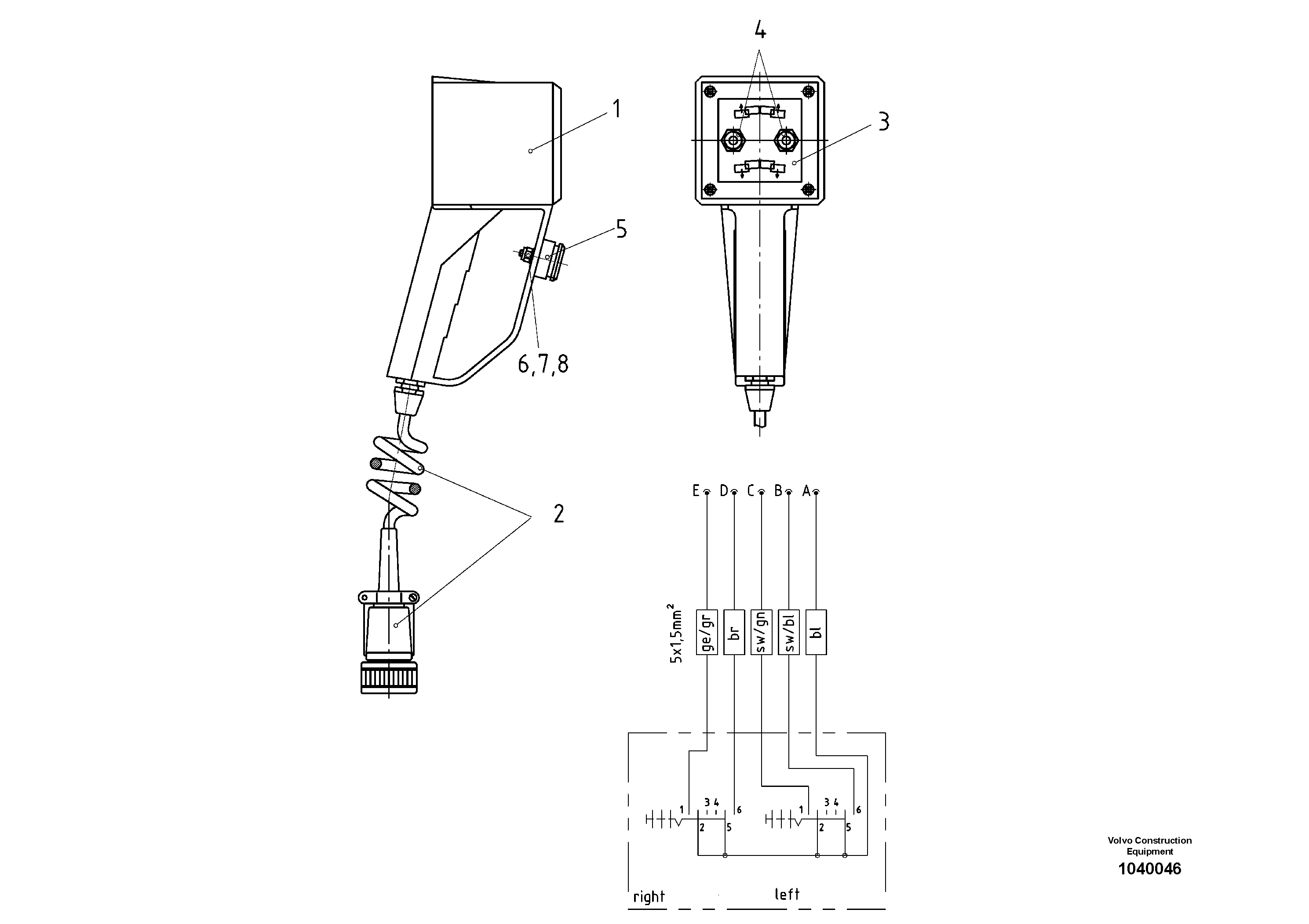
1

RM 87905907

Картер (корпус)

1шт.

1

RM 87905907

Картер (корпус)

1шт.

2

RM 87905899

Cable

1шт.

2

RM 87905899

Cable

1шт.

3

RM 87905881

Label

S/N -14356

1шт.

3

RM 87905881

Label

S/N -14356

1шт.

3

RM 80629280

Decal

S/N 14357-

1шт.

3

RM 80629280

Decal

S/N 14357-

1шт.

4

RM 58833294

Переключатель

1шт.

4

RM 58833294

Переключатель

1шт.

5

RM 13968383

Knob

1шт.

5

RM 13968383

Knob

1шт.

6

RM 58900747

Болт

1шт.

6

RM 58900747

Болт

1шт.

7

RM 96712872

Плоская шайба

1шт.

7

RM 96712872

Плоская шайба

1шт.

8

RM 58900754

Hexagon nut

1шт.

8

RM 58900754

Hexagon nut

1шт.

Выбрано товаров: 18