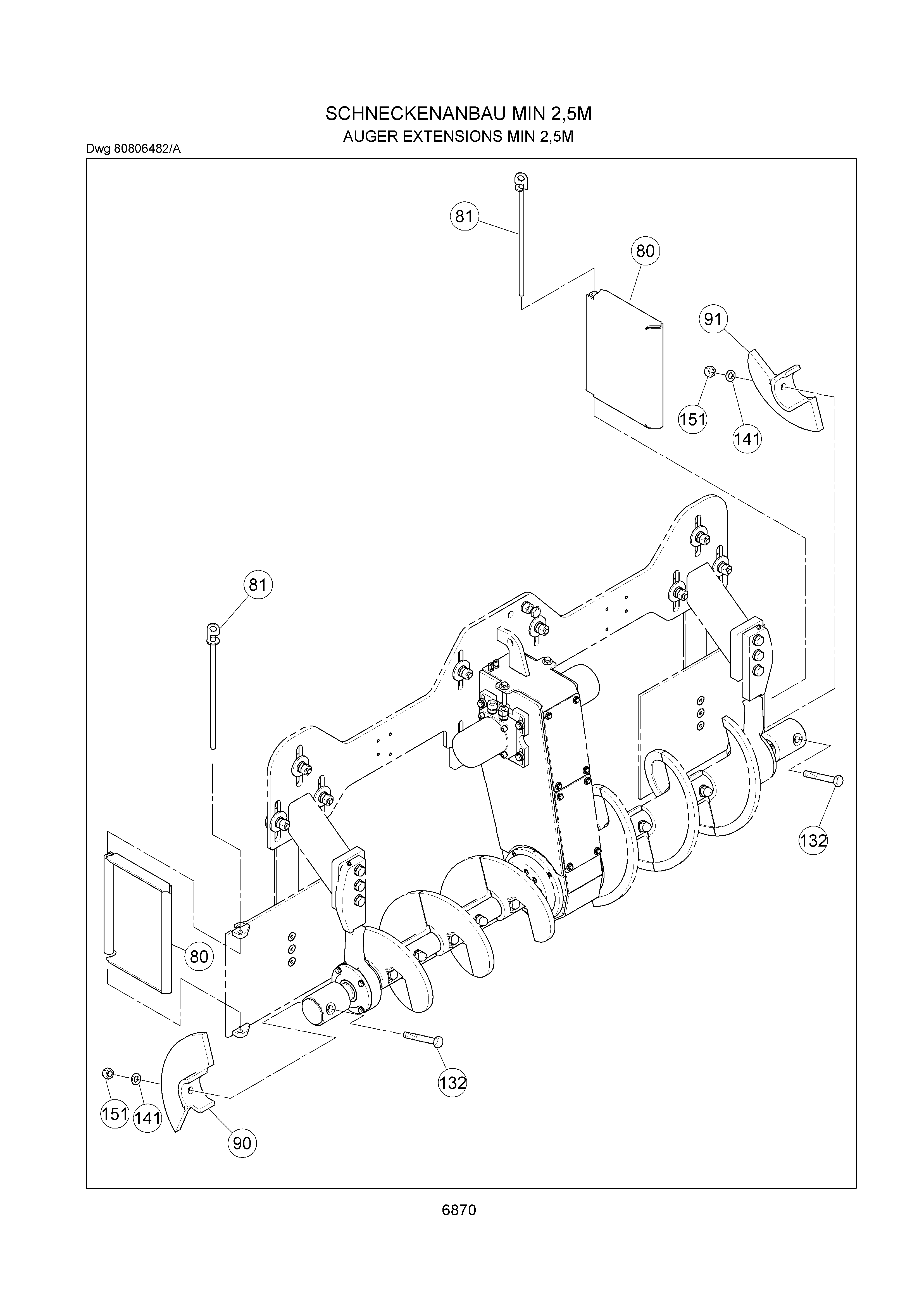
Запчасти Volvo ABG6870 75855 Auger extensions VB 78 GTC ATT. SCREEDS 2,5 - 9,0M ABG5770, ABG5870, ABG6870

Схема запчастей Volvo ABG6870 - 75855 Auger extensions VB 78 GTC ATT. SCREEDS 2,5 - 9,0M ABG5770, ABG5870, ABG6870
FIT
1:1
100%

Артикул

Название

Примечание

Количество

132

RM 96721774

Винт шестигранник

1шт.

141

RM 14261036

Стопорная шайба (кольцо)

1шт.

141

RM 14261036

Стопорная шайба (кольцо)

1шт.

151

RM 96720925

Hexagon nut

1шт.

151

RM 96720925

Hexagon nut

1шт.

80

RM 80841018

Guide Plate

S/N 19950 -

1шт.

80

RM 80805427

Guide Plate

S/N 51 - 19949

1шт.

81

RM 80808090

Locking Pin

1шт.

90

RM 58833146

Auger

LH

1шт.

91

RM 58833153

Auger

RH

1шт.

Выбрано товаров: 10