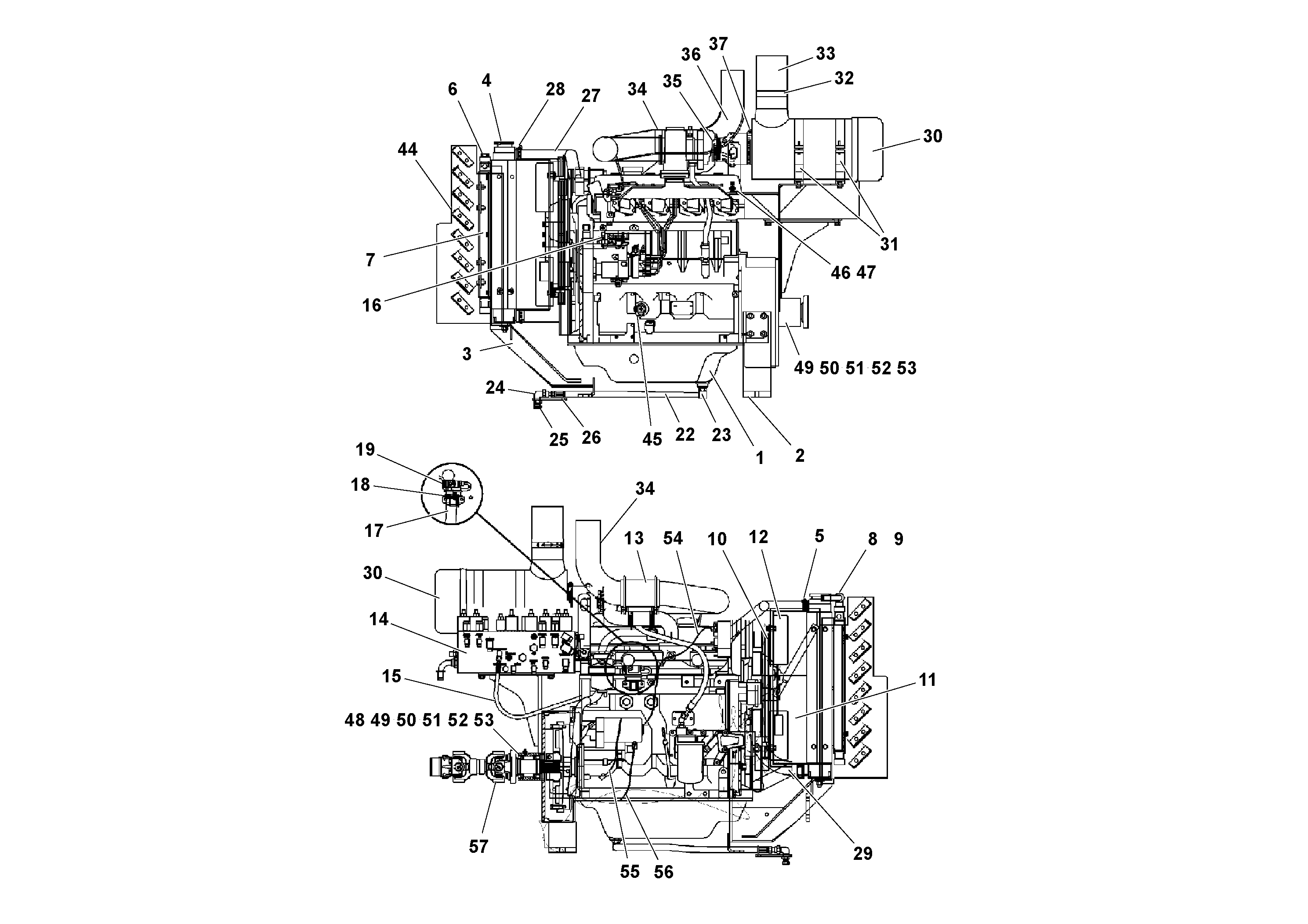
Запчасти Volvo PF161 51122 John Deere Engine Assembly PF161 S/N 197506 -

Схема запчастей Volvo PF161 - 51122 John Deere Engine Assembly PF161 S/N 197506 -
FIT
1:1
100%

Артикул

Название

Примечание

Количество

RM 95223434

Retaining ring

1шт.

RM 95223434

Retaining ring

1шт.

RM 20931994

Sealing

1шт.

RM 20931994

Sealing

1шт.

RM 20932000

Sealing

1шт.

RM 20932000

Sealing

1шт.

RM 20960316

Ремкомплект

1шт.

RM 20960324

Болт

1шт.

RM 20937488

Silencer

1шт.

RM 20937488

Silencer

1шт.

51

RM 21140702

Output Shaft

1шт.

51

RM 21140702

Output Shaft

1шт.

52

RM 20931341

Подшипник

1шт.

52

RM 20931341

Подшипник

1шт.

53

RM 20934956

Фиттинг

1шт.

53

RM 20934956

Фиттинг

1шт.

54

RM 13695366

Wiring Harness

1шт.

55

RM 13695291

Wiring Harness

1шт.

56

RM 13699673

Battery Cable

1шт.

56

RM 13699673

Battery Cable

1шт.

57

RM 20960308

Power transmission

1шт.

Выбрано товаров: 21