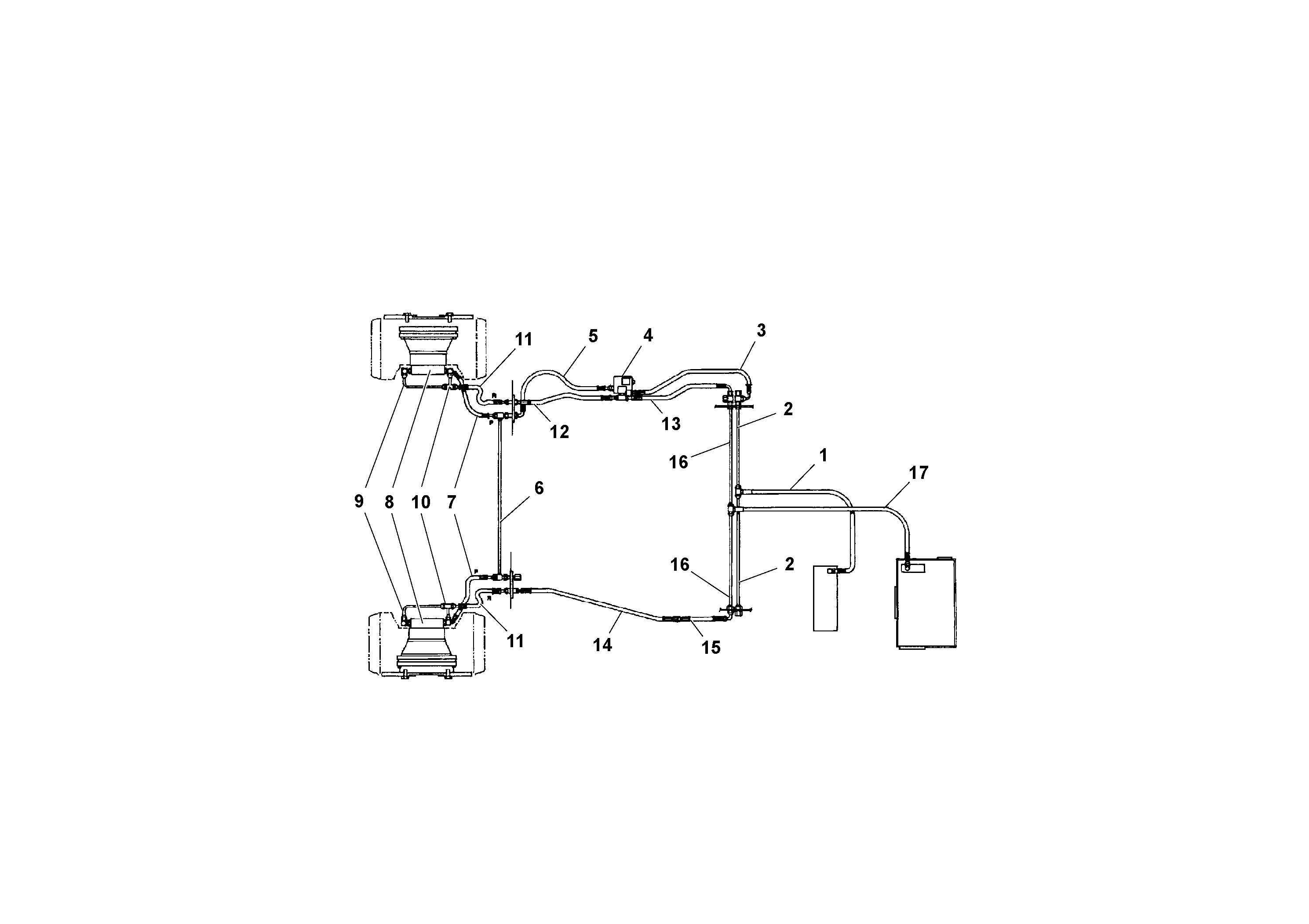
Запчасти Volvo PF161 47486 Optional Front Wheel Assist Hydraulic System PF161 S/N 197506 -

Схема запчастей Volvo PF161 - 47486 Optional Front Wheel Assist Hydraulic System PF161 S/N 197506 -
FIT
1:1
100%

Артикул

Название

Примечание

Количество

RM 20197554

Гайка

1шт.

RM 20197554

Гайка

1шт.

RM 50959063

T-nipple

1шт.

RM 50959063

T-nipple

1шт.

RM 95756300

Адаптер

1шт.

RM 95756300

Адаптер

1шт.

16

RM 20251401

Трубка

1шт.

16

RM 20251401

Трубка

1шт.

17

RM 20199576

Шланг

1шт.

17

RM 20199576

Шланг

1шт.

Выбрано товаров: 10