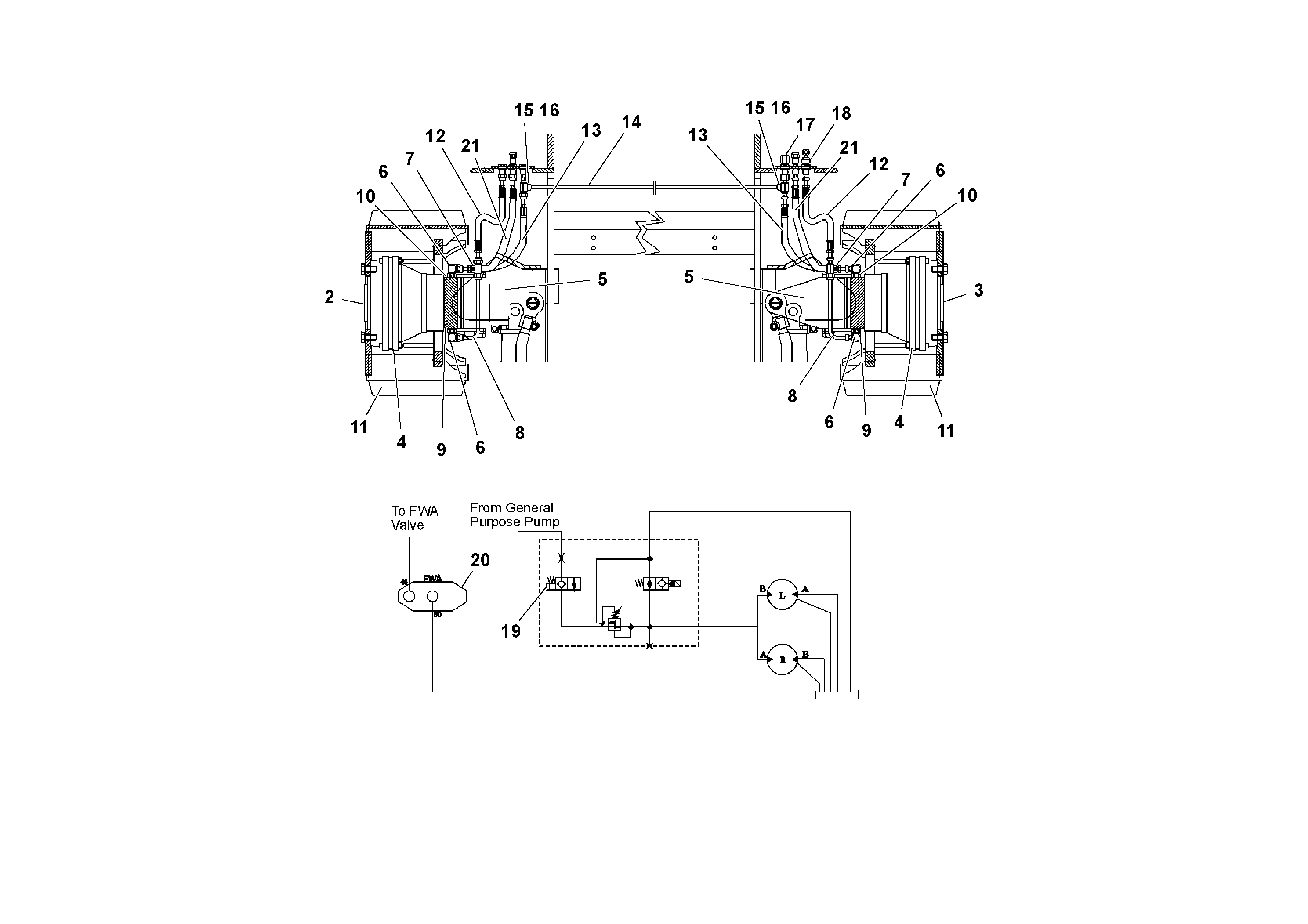
Запчасти Volvo PF161 47488 Optional Front Wheel Power Assist PF161 S/N 197506 -

Схема запчастей Volvo PF161 - 47488 Optional Front Wheel Power Assist PF161 S/N 197506 -
FIT
1:1
100%

Артикул

Название

Примечание

Количество

RM 20206231

Винт шестигранник

1шт.

RM 20942629

Wheel

1шт.

RM 20942629

Wheel

1шт.

RM 20316816

Conversion kit

1шт.

RM 20316816

Conversion kit

1шт.

RM 95935185

Винт шестигранник

1шт.

RM 95935185

Винт шестигранник

1шт.

RM 95920674

Винт шестигранник

1шт.

RM 95920674

Винт шестигранник

1шт.

10

RM 95653317

Пробка (заглушка)

1шт.

10

RM 95653317

Пробка (заглушка)

1шт.

11

RM 20292744

Wheel

1шт.

11

RM 20292744

Wheel

1шт.

12

RM 20200275

Hose assembly

1шт.

12

RM 20200275

Hose assembly

1шт.

13

RM 13812094

Шланг

1шт.

14

RM 21140678

Трубка

1шт.

15

RM 59961839

Адаптер

1шт.

15

RM 59961839

Адаптер

1шт.

16

RM 59922898

Адаптер

1шт.

16

RM 59922898

Адаптер

1шт.

17

RM 59924050

Cap

1шт.

17

RM 59924050

Cap

1шт.

18

RM 95364972

Переходник масляного фильтра

1шт.

18

RM 95364972

Переходник масляного фильтра

1шт.

2

RM 20291894

Гидромотор

LH

1шт.

20

RM 20934576

Toggle switch

1шт.

20

RM 20934576

Toggle switch

1шт.

21

RM 20948303

Hose assembly

1шт.

21

RM 20948303

Hose assembly

1шт.

3

RM 20291902

Гидромотор

RH

1шт.

5

RM 20268173

Кронштейн

1шт.

5

RM 20268173

Кронштейн

1шт.

6

RM 95356853

Адаптер

1шт.

6

RM 95356853

Адаптер

1шт.

7

RM 20251724

Трубка

1шт.

7

RM 20251724

Трубка

1шт.

8

RM 20251716

Трубка

1шт.

8

RM 20251716

Трубка

1шт.

9

RM 59921031

Адаптер

1шт.

9

RM 59921031

Адаптер

1шт.

Выбрано товаров: 41