Качественные детали и логистика
Оригинальные и аналоговые запчасти с доставкой по России, Казахстану и Беларуси
©2022 PartSell ООО "Система" ИНН 2463123282 ОГРН 1212400004838
Центральный офис: г. Красноярск, Академика Киренского, д.87, пом.4
Телефон: 8 (800) 777-65-74 Email: zakaz@partsell.ru
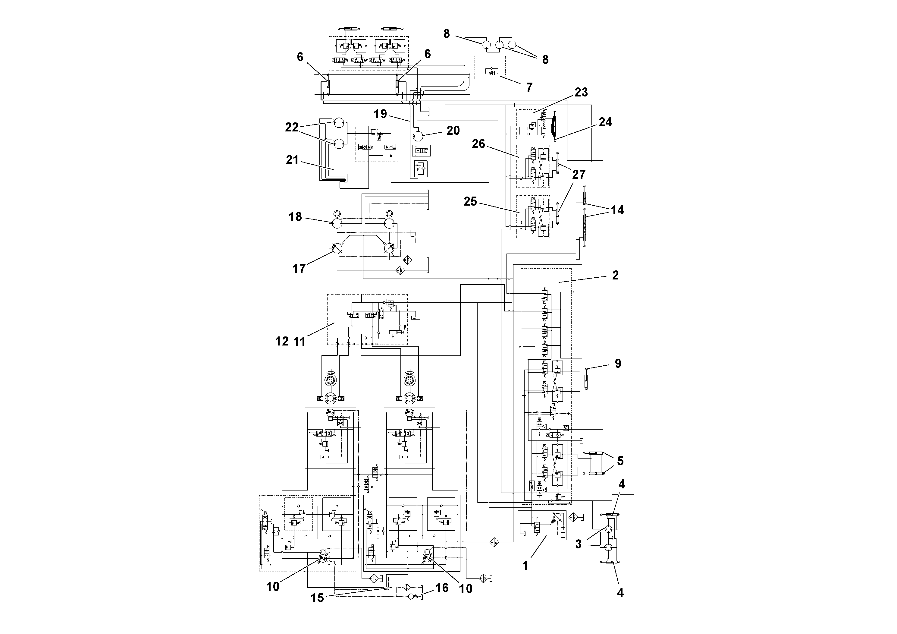
89360 Hydraulic diagram
№
Артикул
Название
Примечание
Количество
RM 20336012
Hydraulic fluid tank
Pressurized
1шт.
RM 43910173
Встроенный клапан в сборе
S/N -16128-00
RM 15631179
Vented
15
RM 20299848
Масляный радиатор
16
RM 20929154
Non-return valve
18
RM 20929857
Гидромотор
19
RM 20303855
Hydraulic valve
S/N 16128-01-
20
RM 20325197
8
RM 20926366
Выбрано товаров: 0