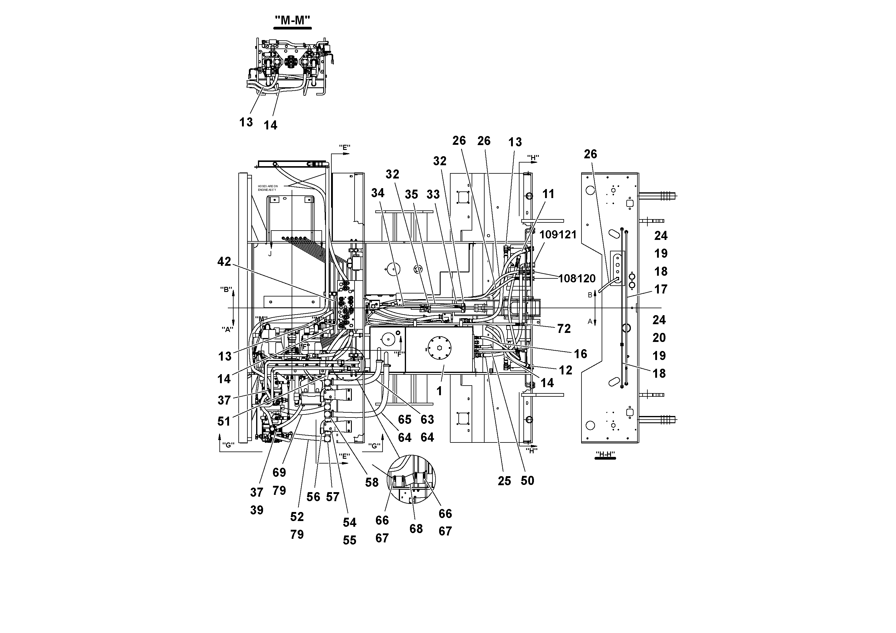
Запчасти Volvo PF2181 92598 Hydraulic Arrangement PF2181 S/N 197473-

Схема запчастей Volvo PF2181 - 92598 Hydraulic Arrangement PF2181 S/N 197473-
FIT
1:1
100%

Артикул

Название

Примечание

Количество

RM 43921949

Фильтр масляный

1шт.

RM 20924494

Sealing kit

1шт.

RM 20924395

Clevis

1шт.

RM 95923934

Split pin

1шт.

RM 95923934

Split pin

1шт.

RM 20925244

Clevis pin

1шт.

1

RM 20242657

Hydraulic fluid tank

1шт.

108

RM 20932513

Шайба

1шт.

109

RM 20181442

Стопорная шайба (кольцо)

1шт.

11

RM 20203071

Hose assembly

1шт.

12

RM 20203063

Hose assembly

1шт.

12

RM 20203063

Hose assembly

1шт.

120

RM 59947044

Фиттинг

1шт.

120

RM 59947044

Фиттинг

1шт.

121

RM 59961854

Адаптер

1шт.

121

RM 59961854

Адаптер

1шт.

13

RM 20202115

Hose assembly

1шт.

14

RM 13638549

Hose assembly

1шт.

16

RM 13637970

Шланг

1шт.

17

RM 20342937

Трубка

1шт.

18

RM 20932299

Кольцо уплотнительное (О-кольцо)

1шт.

18

RM 20932299

Кольцо уплотнительное (О-кольцо)

1шт.

19

RM 20951133

Hexagon nut

1шт.

20

RM 20336756

Трубка

1шт.

24

RM 96747522

Шайба

1шт.

25

RM 20332474

Hose assembly

1шт.

26

RM 20200804

Hydraulic hose

1шт.

32

RM 59922211

Адаптер

1шт.

33

RM 20177572

Гидроцилиндр

1шт.

34

RM 20950424

Шланг

1шт.

34

RM 20950424

Шланг

1шт.

35

RM 20260493

Hose assembly

1шт.

37

RM 95090106

Зажим

1шт.

39

RM 20947461

Шланг

1шт.

42

RM 20949756

Hose assembly

1шт.

50

RM 20948303

Hose assembly

1шт.

50

RM 20948303

Hose assembly

1шт.

51

RM 20201968

Hose assembly

1шт.

52

RM 15510068

Suction hose

1шт.

54

RM 43921949

Фильтр масляный

1шт.

55

RM 20925798

Hydraulic fluid filter

1шт.

56

RM 20177697

Vacuum gauge

1шт.

57

RM 20946083

Elbow

1шт.

58

RM 20945846

Elbow

1шт.

63

RM 15509888

Suction hose

1шт.

64

RM 15509953

Suction hose

1шт.

65

RM 20259214

Зажим

1шт.

66

RM 21005988

Шланг

1шт.

67

RM 20304978

Hose clamp

1шт.

68

RM 15596265

Трубка

1шт.

69

RM 15510035

Suction hose

1шт.

72

RM 13637921

Hose assembly

1шт.

79

RM 20259206

Зажим

1шт.

Выбрано товаров: 53