Запчасти Volvo PF2181 99397 Гидравлическая система PF2181 S/N 197473-

Схема запчастей Volvo PF2181 - 99397 Гидравлическая система PF2181 S/N 197473-
FIT
1:1
100%

Артикул

Название

Примечание

Количество

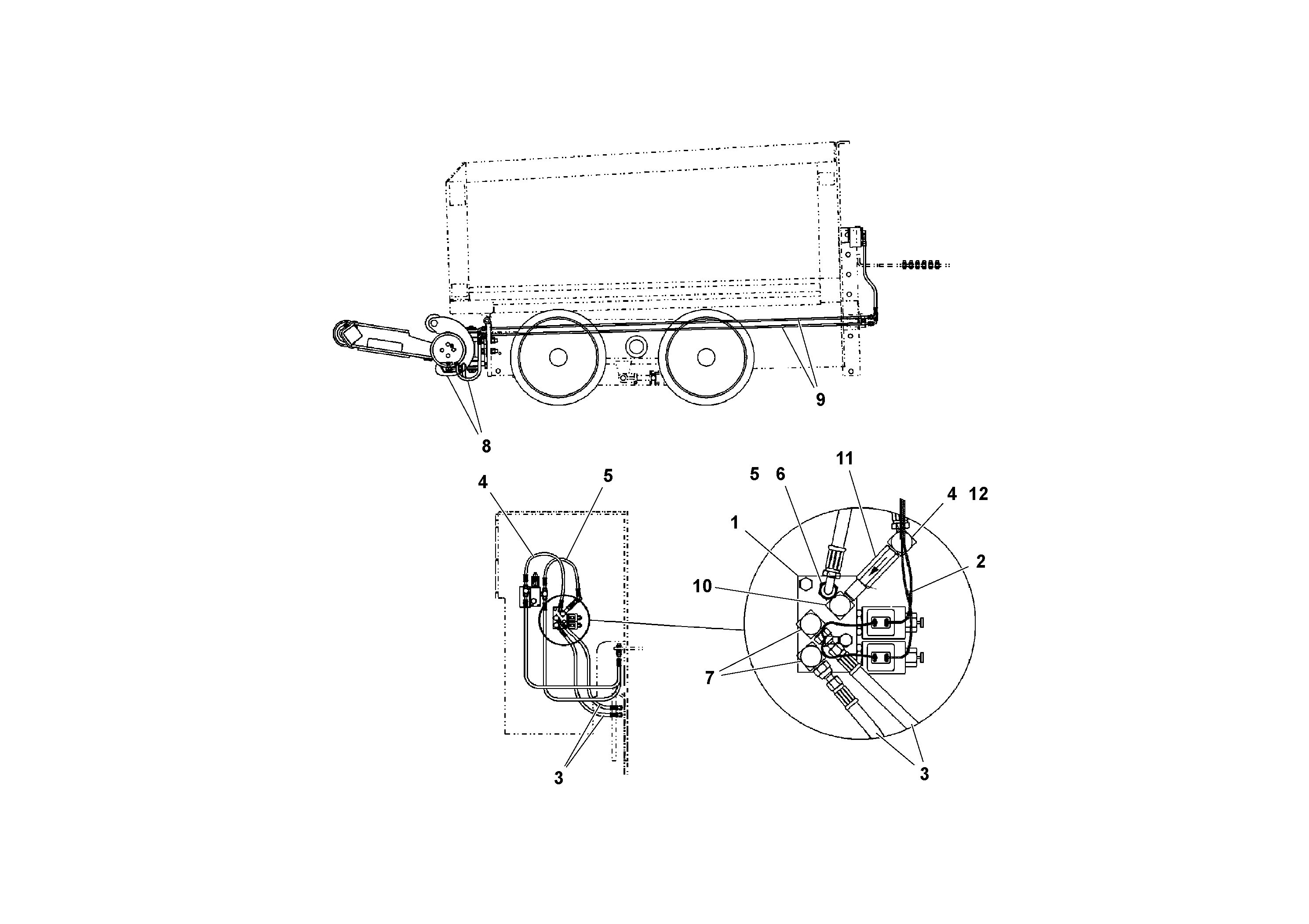
RM 95934600

Винт шестигранник

1шт.

RM 95934543

Винт шестигранник

1шт.

RM 95934543

Винт шестигранник

1шт.

RM 95301826

Зажим

1шт.

RM 95301826

Зажим

1шт.

10

RM 20204525

Elbow

1шт.

11

RM 20925954

Flow valve

1шт.

11

RM 20925954

Flow valve

1шт.

12

RM 59903112

Адаптер

1шт.

12

RM 59903112

Адаптер

1шт.

2

RM 20298113

Wire

1шт.

3

RM 15512080

Шланг

1шт.

4

RM 20948485

Hose assembly

1шт.

5

RM 20948253

Hose assembly

1шт.

6

RM 59919670

Соединитель

1шт.

6

RM 59919670

Адаптер

1шт.

7

RM 59922864

Адаптер

1шт.

7

RM 59922864

Адаптер

1шт.

8

RM 20200853

Hose assembly

1шт.

9

RM 20235511

Трубка

1шт.

Выбрано товаров: 20