Запчасти Volvo PF2181 98498 Auger/conveyor Drive Motor PF2181 S/N 197473-

Схема запчастей Volvo PF2181 - 98498 Auger/conveyor Drive Motor PF2181 S/N 197473-
FIT
1:1
100%

Артикул

Название

Примечание

Количество

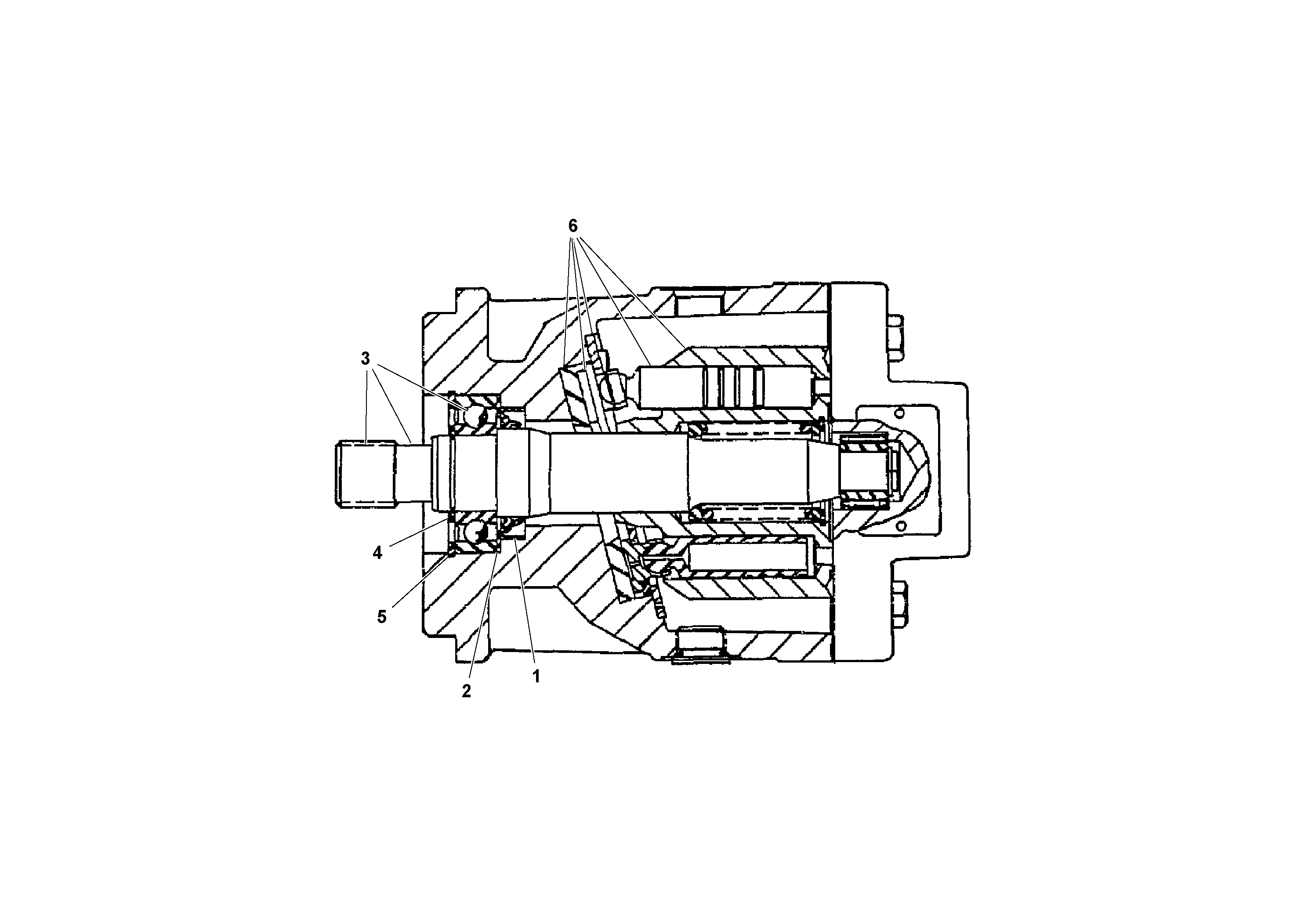
RM 20926218

Sealing kit

1шт.

RM 20926218

Sealing kit

1шт.

RM 20928982

Гидромотор

AUGER/CONVEYOR

1шт.

1

RM 20925632

Sealing

1шт.

1

RM 20925632

Sealing

1шт.

2

RM 20172433

Шайба

1шт.

2

RM 20172433

Шайба

1шт.

3

RM 20177341

Вал

SPLINE SHAFT & BEARING

1шт.

3

RM 20177341

Вал

SPLINE SHAFT & BEARING

1шт.

4

RM 13774260

Retaining ring

1шт.

4

RM 13774260

Retaining ring

1шт.

5

RM 13774278

Retaining ring

1шт.

6

RM 13792072

Ремкоплект поршня

ROTATING GROUP

1шт.

Выбрано товаров: 13