Запчасти Volvo PF2181 50725 Cable Harness Arrangement PF2181 S/N 197473-

Схема запчастей Volvo PF2181 - 50725 Cable Harness Arrangement PF2181 S/N 197473-
FIT
1:1
100%

Артикул

Название

Примечание

Количество

RM 95934816

Винт шестигранник

1шт.

RM 95934816

Винт шестигранник

1шт.

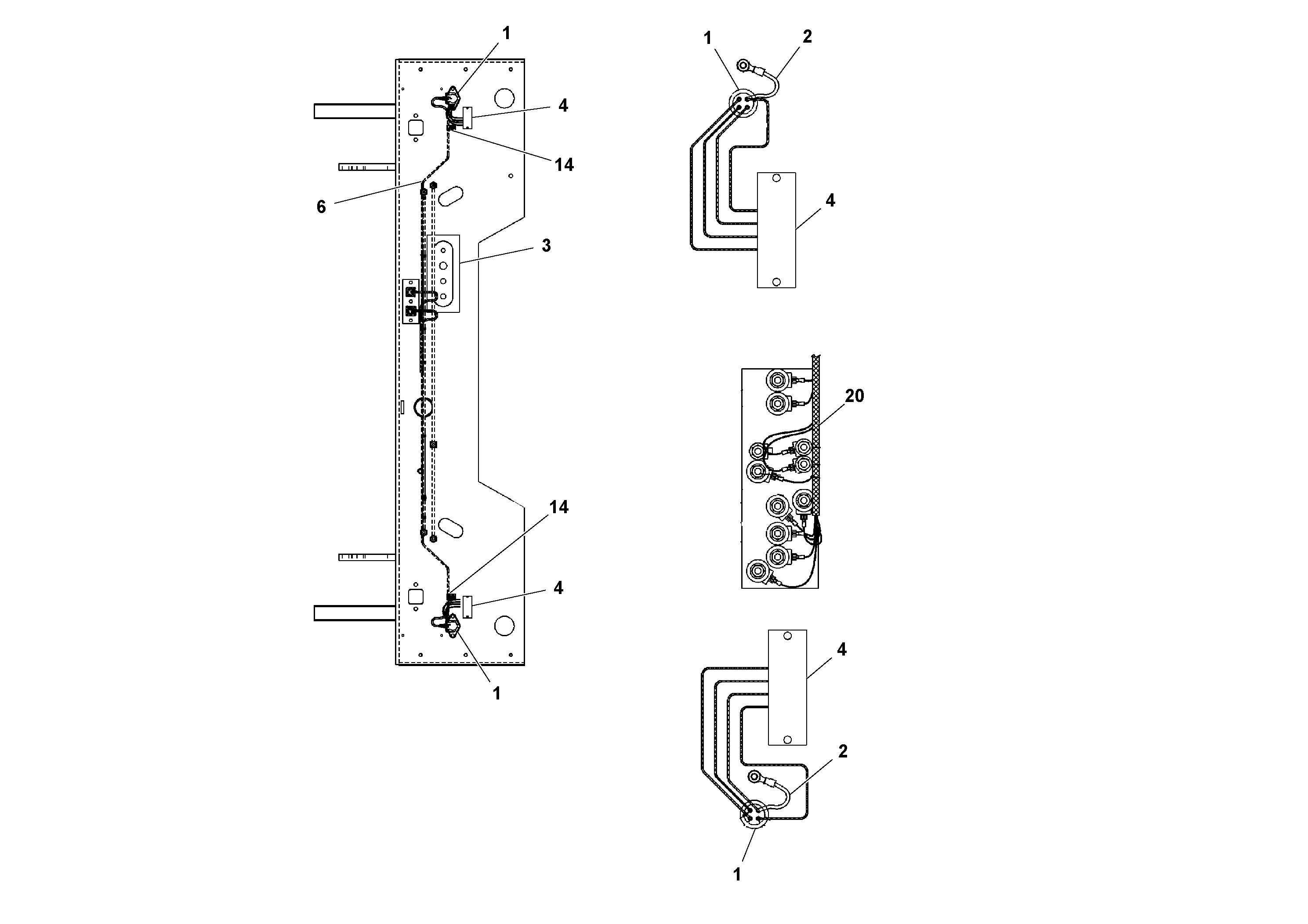
1

RM 20933834

Receptacle

LH&RH FEED SENSOR

1шт.

14

RM 20938338

Зажим

1шт.

2

RM 21060488

Wire

FEED SENSOR

1шт.

20

RM 20344495

Cable harness

VALVE BLOCK

1шт.

3

RM 20304895

Пластина

1шт.

4

RM 21144167

Impulse converter

SIGNAL CONDITIONER

1шт.

6

RM 15596547

Cable harness

SCREED

1шт.

Выбрано товаров: 9