Запчасти Volvo PF2181 81095 Bogie Steering Assemblies PF2181 S/N 200987-

Схема запчастей Volvo PF2181 - 81095 Bogie Steering Assemblies PF2181 S/N 200987-
FIT
1:1
100%

Артикул

Название

Примечание

Количество

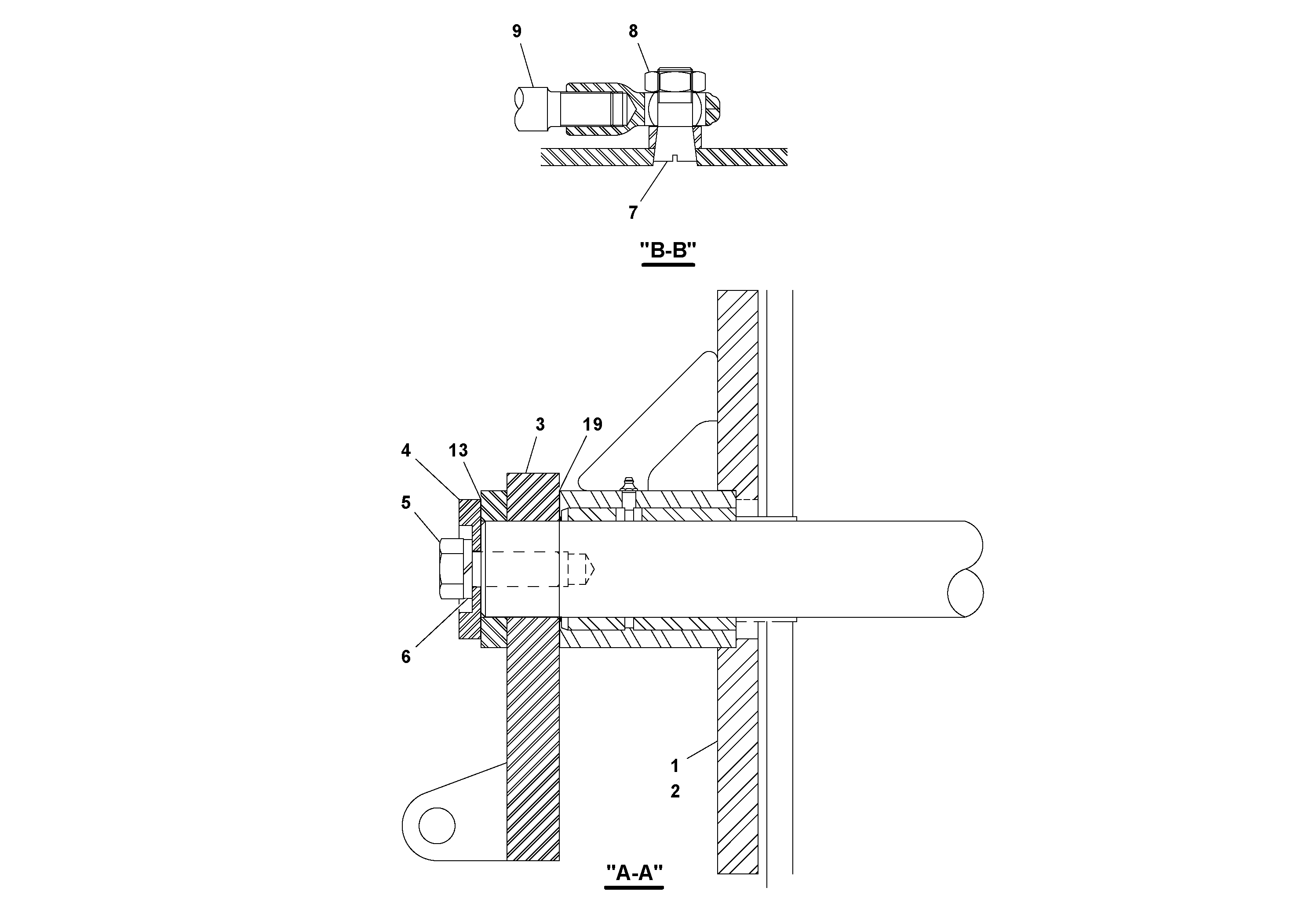
1

RM 15594526

Bogie

LH

1шт.

13

RM 20340816

Прокладка

1шт.

19

RM 15596026

Shim-bogie

1шт.

2

RM 15594534

Bogie

RH

1шт.

3

RM 20235339

Cylinder lug

1шт.

4

RM 20250544

Шайба

1шт.

5

RM 95995239

Винт шестигранник

1шт.

5

RM 95995239

Винт шестигранник

1шт.

6

RM 95931291

Стопорная шайба (кольцо)

1шт.

7

RM 20266441

Ball pin

1шт.

8

RM 20944377

Lock nut

1шт.

9

RM 20309928

Track rod

1шт.

Выбрано товаров: 12