Запчасти Volvo PF2181 78410 Hydraulic Arrangement PF2181 S/N 200987-

Схема запчастей Volvo PF2181 - 78410 Hydraulic Arrangement PF2181 S/N 200987-
FIT
1:1
100%

Артикул

Название

Примечание

Количество

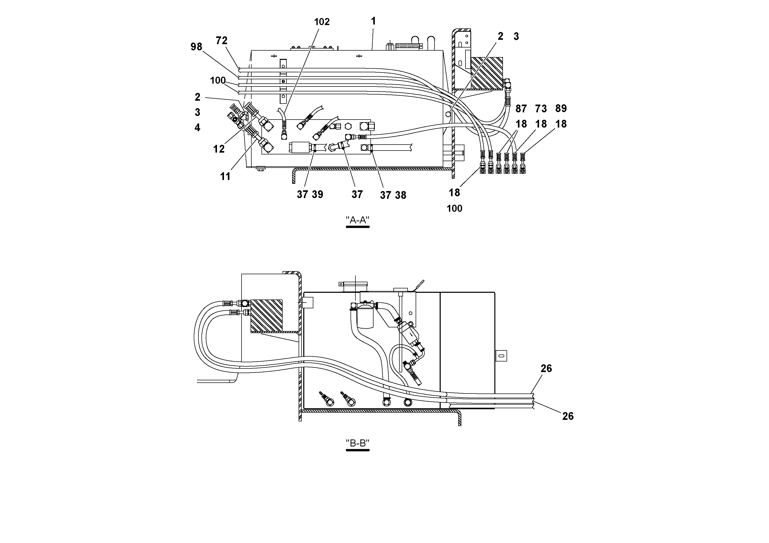
1

RM 20242657

Hydraulic fluid tank

1шт.

100

RM 20948402

Hose assembly

1шт.

102

RM 20948816

Hose assembly

1шт.

11

RM 20203071

Hose assembly

1шт.

12

RM 20203063

Hose assembly

1шт.

12

RM 20203063

Hose assembly

1шт.

15

RM 20933677

Cable

1шт.

15

RM 20933677

Cable

1шт.

18

RM 20932299

Кольцо уплотнительное (О-кольцо)

1шт.

18

RM 20932299

Кольцо уплотнительное (О-кольцо)

1шт.

2

RM 95931226

Стопорная шайба (кольцо)

1шт.

2

RM 95931226

Стопорная шайба (кольцо)

1шт.

26

RM 20200804

Hydraulic hose

1шт.

3

RM 95934451

Винт шестигранник

1шт.

3

RM 95934451

Винт шестигранник

1шт.

37

RM 95090106

Зажим

1шт.

38

RM 20947461

Шланг

1шт.

39

RM 20947461

Шланг

1шт.

4

RM 95922902

Hexagon nut

1шт.

4

RM 95922902

Hexagon nut

1шт.

72

RM 13637921

Hose assembly

1шт.

73

RM 20948170

Hose assembly

1шт.

87

RM 20201299

Hose assembly

1шт.

89

RM 20948485

Hose assembly

1шт.

98

RM 20949160

Hose assembly

1шт.

Выбрано товаров: 25