Запчасти Volvo PF2181 80208 Hydraulic Arrangement PF2181 S/N 200987-

Схема запчастей Volvo PF2181 - 80208 Hydraulic Arrangement PF2181 S/N 200987-
FIT
1:1
100%

Артикул

Название

Примечание

Количество

RM 20924395

Clevis

1шт.

RM 20925244

Clevis pin

1шт.

RM 20170346

Гайка

1шт.

RM 20924494

Sealing kit

1шт.

RM 95923934

Split pin

1шт.

RM 95923934

Split pin

1шт.

RM 95922894

Hexagon nut

1шт.

RM 95922894

Hexagon nut

1шт.

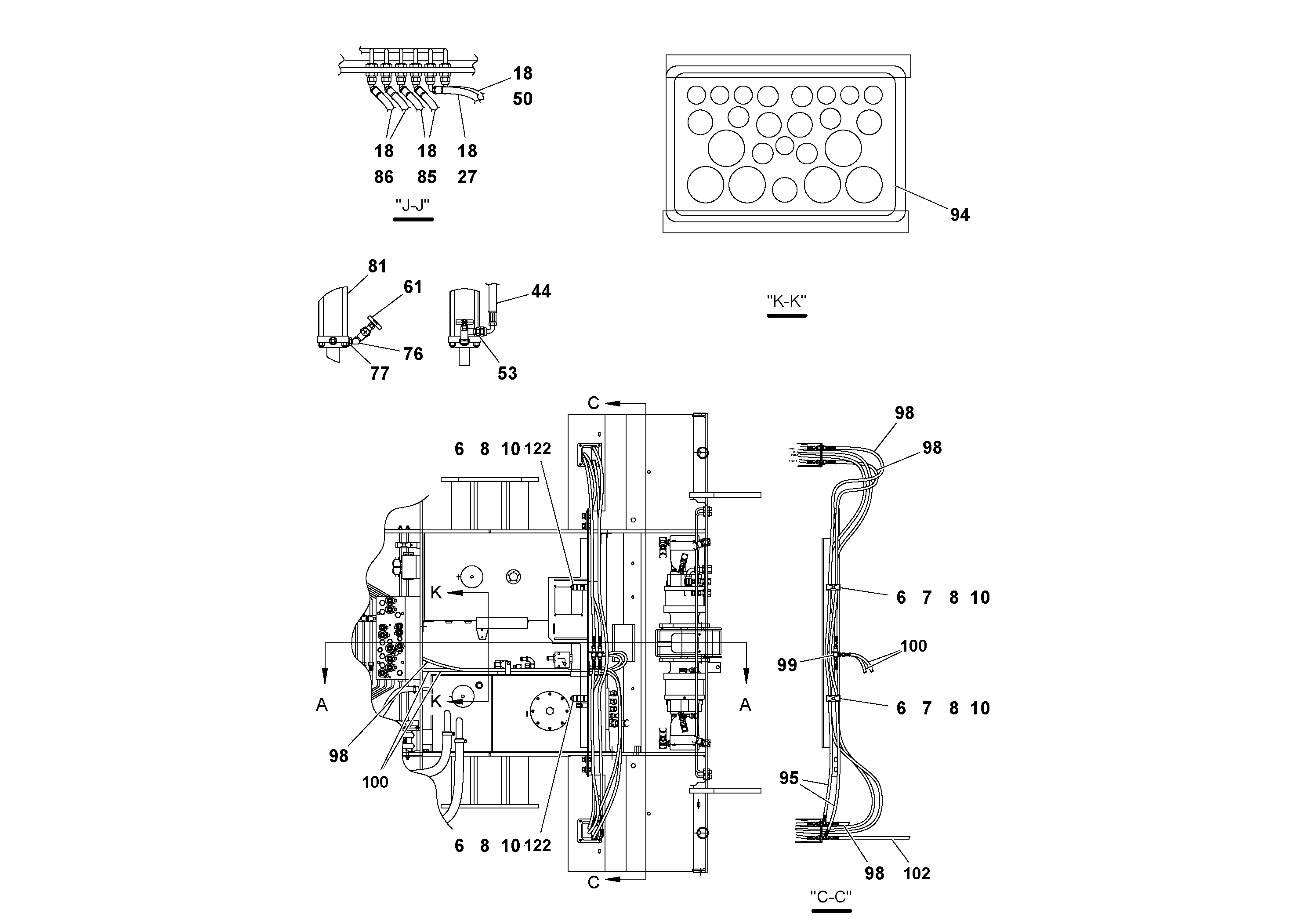
10

RM 95931408

Стопорная шайба (кольцо)

1шт.

10

RM 95931408

Стопорная шайба (кольцо)

1шт.

100

RM 20948402

Hose assembly

1шт.

102

RM 20948816

Hose assembly

1шт.

122

RM 95958930

Винт шестигранник

1шт.

122

RM 95958930

Винт шестигранник

1шт.

18

RM 20932299

Кольцо уплотнительное (О-кольцо)

1шт.

18

RM 20932299

Кольцо уплотнительное (О-кольцо)

1шт.

27

RM 20948279

Hose assembly

1шт.

44

RM 20948295

Hose assembly

1шт.

50

RM 20948303

Hose assembly

1шт.

50

RM 20948303

Hose assembly

1шт.

53

RM 59919712

Адаптер

1шт.

6

RM 20188579

Зажим

1шт.

61

RM 20937132

Клапан

1шт.

7

RM 95934865

Винт шестигранник

1шт.

76

RM 20945697

Адаптер

1шт.

77

RM 59038147

Втулка

1шт.

8

RM 20188629

Зажим

1шт.

8

RM 20188629

Зажим

1шт.

81

RM 20924742

Гидроцилиндр

1шт.

85

RM 13636634

Hose assembly

1шт.

86

RM 20378675

Hose assembly

1шт.

94

RM 15595846

Plate - Hose Or

1шт.

95

RM 13637921

Hose assembly

1шт.

98

RM 20949160

Hose assembly

1шт.

99

RM 59962621

Адаптер

1шт.

99

RM 59962621

Адаптер

1шт.

Выбрано товаров: 36